龙虎榜丨拓维信息今日涨1.5%,上榜营业部席位全天成交12.49亿元,机构合计净买入2.26亿元

http://ddx.gubit.cn  2023-06-28 16:37  拓维信息(002261)公司分析

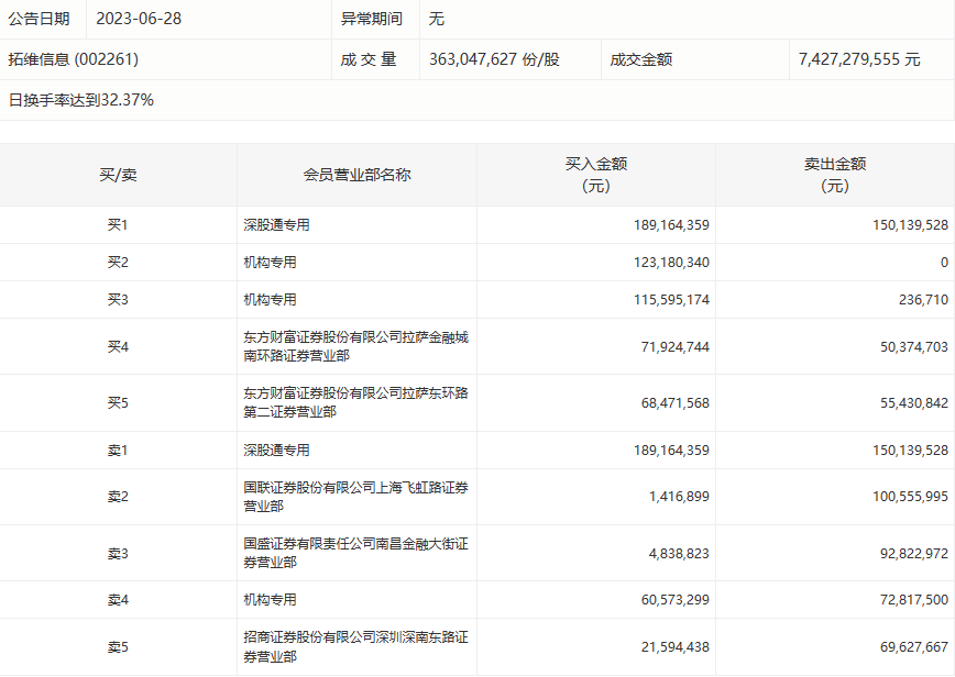
6月28日,拓维信息今日涨1.5%,龙虎榜数据显示,上榜营业部席位全天成交12.49亿元,占当日总成交金额比例为16.81%。其中,买入金额为6.57亿元,卖出金额为5.92亿元,合计净买入6475.37万元。

具体来看,机构买入2.99亿元,卖出7305.42万元,合计净买入2.26亿元。此外,深股通专用、东方财富证券拉萨金融城南环路证券营业部分别买入1.89亿元、7192.47万元;深股通专用、国联证券上海飞虹路证券营业部分别卖出1.50亿元、1.01亿元。