龙虎榜丨拓维信息今日涨停,知名游资方新侠净买入6895.36万元

查股网  2024-10-21 20:43  拓维信息(002261)个股分析

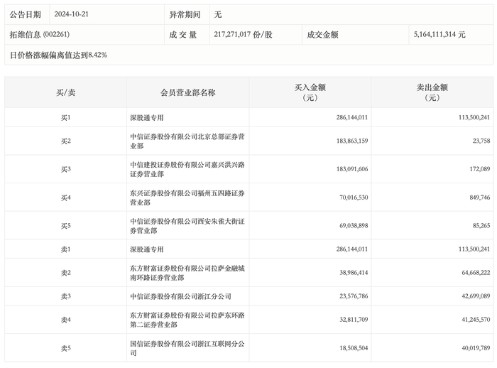
10月21日,拓维信息今日涨停,龙虎榜数据显示,上榜营业部席位全天成交12.09亿元,占当日总成交金额比例为23.42%。其中,买入金额为9.06亿元,卖出金额为3.03亿元,合计净买入6.03亿元。

具体来看,知名游资现身龙虎榜,方新侠(中信证券股份有限公司西安朱雀大街证券营业部)净买入6895.36万元。此外,深股通专用、中信证券北京总部证券营业部分别买入2.86亿元、1.84亿元;深股通专用、东方财富证券拉萨金融城南环路证券营业部分别卖出1.14亿元、6466.82万元。