龙虎榜丨拓维信息今日跌停,机构净卖出1.5亿元

查股网  2024-11-18 21:20  拓维信息(002261)个股分析

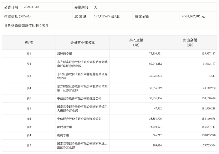
11月18日,拓维信息今日跌停,龙虎榜数据显示,上榜营业部席位全天成交10.23亿元,占当日总成交金额比例为22.72%。其中,买入金额为2.42亿元,卖出金额为7.81亿元,合计净卖出5.39亿元。

具体来看,机构买入66.52万元,卖出1.51亿元,合计净卖出1.5亿元。此外,国泰君安证券南京清凉门大街证券营业部、中信证券浙江分公司分别卖出1.82亿元、1.58亿元;深股通专用、东方财富证券拉萨金融城南环路证券营业部分别买入7321.05万元、6004.43万元。