龙虎榜丨遥望科技今日跌停,深股通专用买入4761.07万元并卖出6005.69万元

http://ddx.gubit.cn  2023-05-08 20:34  遥望科技(002291)公司分析

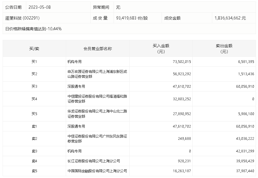
5月8日,遥望科技今日跌停,龙虎榜数据显示,上榜营业部席位全天成交4.94亿元,占当日总成交金额比例为26.9%。其中,买入金额为2.56亿元,卖出金额为2.38亿元,合计净买入1832.01万元。

具体来看,机构买入7350.2万元,卖出4941.27万元,合计净买入2408.93万元。此外,深股通专用、中信证券广州东风东路证券营业部分别卖出6005.69万元、4303.62万元;申万宏源证券有限公司上海浦东新区成山路证券营业部、深股通专用分别买入5692.33万元、4761.07万元。