龙虎榜丨奥飞娱乐今日涨停,方新侠买入9826.39万元,章盟主卖出6979.50万元

http://ddx.gubit.cn  2023-06-06 16:43  奥飞娱乐(002292)公司分析

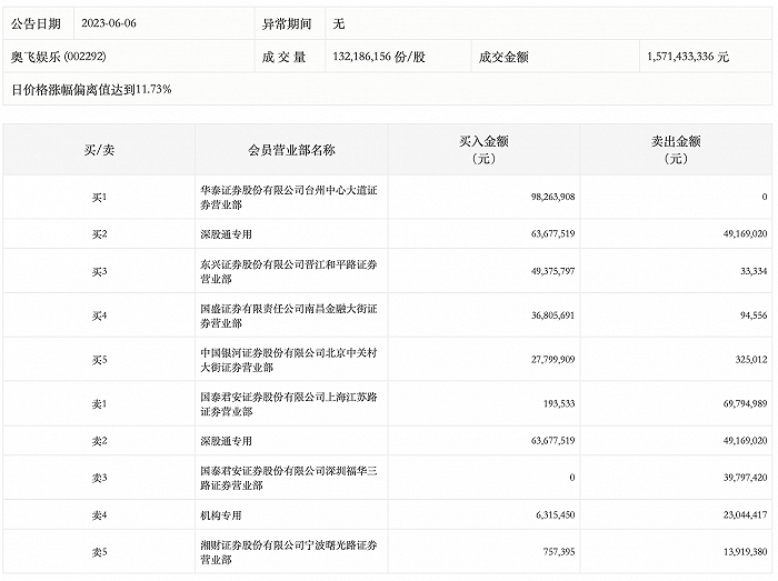
6月6日,奥飞娱乐今日涨停,龙虎榜数据显示,上榜营业部席位全天成交4.79亿元,占当日总成交金额比例为30.51%。其中,买入金额为2.83亿元,卖出金额为1.96亿元,合计净买入8701.11万元。

具体来看,机构买入631.54万元,卖出2304.44万元,合计净卖出1672.9万元。此外,知名游资现身龙虎榜,方新侠(华泰证券台州中心大道证券营业部)、深股通专用分别买入9826.39万元、6367.75万元;章盟主(国泰君安证券上海江苏路证券营业部)、深股通专用分别卖出6979.50万元、4916.90万元。