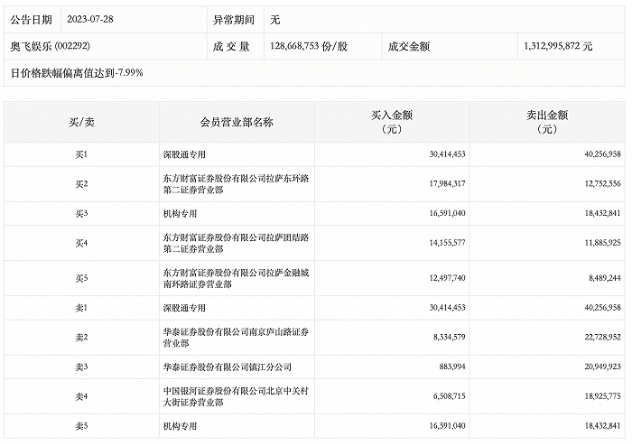
龙虎榜丨奥飞娱乐今日跌6.77%,深股通专用买入3041.45万元并卖出4025.7万元

http://ddx.gubit.cn  2023-07-28 22:37  奥飞娱乐(002292)公司分析

7月28日,奥飞娱乐今日跌6.77%,龙虎榜数据显示,上榜营业部席位全天成交2.62亿元,占当日总成交金额比例为19.94%。其中,买入金额为1.07亿元,卖出金额为1.54亿元,合计净卖出4705.18万元。

具体来看,机构买入1659.1万元,卖出1843.28万元,合计净卖出184.18万元。此外,深股通专用、华泰证券南京庐山路证券营业部分别卖出4025.70万元、2272.90万元;深股通专用、东方财富证券拉萨东环路第二证券营业部分别买入3041.45万元、1798.43万元。