龙虎榜丨奥飞娱乐今日涨停,机构合计净卖出1238.97万元

查股网  2023-12-15 20:17  奥飞娱乐(002292)个股分析

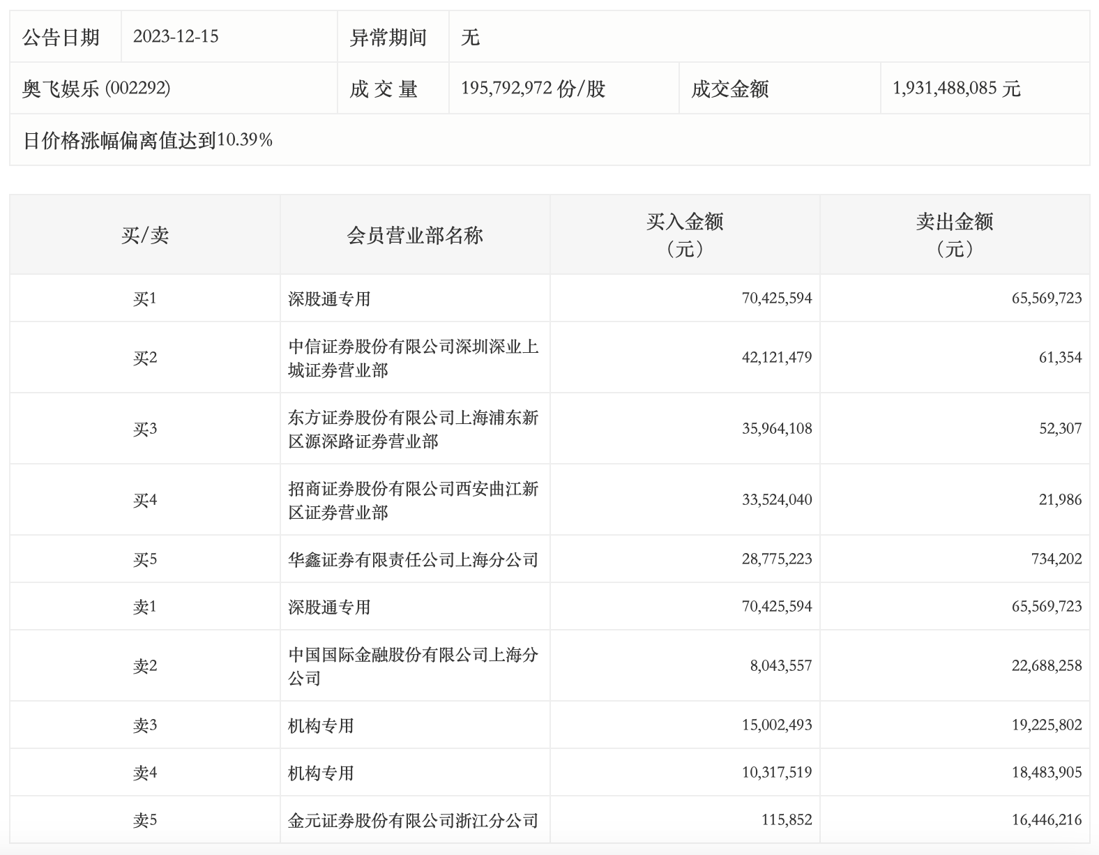
12月15日,奥飞娱乐今日涨停,全天换手率达20.08%,振幅达13.32%。龙虎榜数据显示,营业部席位合计净买入1.01亿元。其中,机构买入2532.0万元,卖出3770.97万元,合计净卖出1238.97万元。此外,深股通专用、中信证券深圳深业上城证券营业部分别买入7042.56万元、4212.15万元;深股通专用、中国国际金融上海分公司分别卖出6556.97万元、2268.83万元。