北新路桥:2024年第一季度净利润593.17万元 同比下降18.66%

中证智能财讯 北新路桥(002307)4月26日披露2024年一季报。2024年第一季度,公司实现营业总收入15.60亿元,同比下降9.57%;归母净利润593.17万元,同比下降18.66%;扣非净利润209.45万元,同比下降49.71%;经营活动产生的现金流量净额为-9.38亿元,上年同期为-4.50亿元;报告期内,北新路桥基本每股收益为0.0047元,加权平均净资产收益率为0.17%。

2024年第一季度,公司毛利率为19.79%,同比上升2.26个百分点;净利率为0.13%,较上年同期下降0.11个百分点。

数据显示,2024年第一季度公司加权平均净资产收益率为0.17%,较上年同期下降0.04个百分点;公司2024年第一季度投入资本回报率为0.06%,较上年同期下降0.08个百分点。

2024年第一季度,公司经营活动现金流净额为-9.38亿元,同比减少4.88亿元;筹资活动现金流净额11.92亿元,同比增加6.88亿元;投资活动现金流净额-5.41亿元,上年同期为-3.29亿元。

2024年第一季度,公司营业收入现金比为114.86%,净现比为-15814.35%。

资产重大变化方面,截至2024年一季度末,公司货币资金较上年末减少7.98%,占公司总资产比重下降0.69个百分点;其他非流动资产较上年末增加14.19%,占公司总资产比重上升0.59个百分点;预付款项较上年末增加39.50%,占公司总资产比重上升0.57个百分点;无形资产较上年末减少0.35%,占公司总资产比重下降0.56个百分点。

负债重大变化方面,截至2024年一季度末,公司应付账款较上年末减少14.65%,占公司总资产比重下降1.65个百分点;长期借款较上年末增加2.20%,占公司总资产比重上升0.38个百分点;一年内到期的非流动负债较上年末增加34.00%,占公司总资产比重上升1.09个百分点;短期借款较上年末增加45.87%,占公司总资产比重上升0.83个百分点。

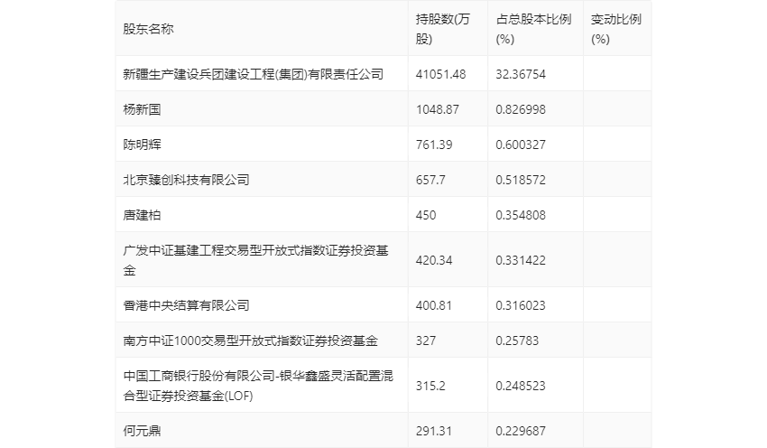
一季报显示,2024年一季度末公司十大流通股东中,新进股东为香港中央结算有限公司、南方中证1000交易型开放式指数证券投资基金、何元鼎,取代了上年末的招商丰盈积极配置混合型证券投资基金、张金华、天安人寿保险股份有限公司-平安资产多资产组合。在具体持股比例上,陈明辉持股有所上升,杨新国、广发中证基建工程交易型开放式指数证券投资基金、中国工商银行股份有限公司-银华鑫盛灵活配置混合型证券投资基金(LOF)持股有所下降。

筹码集中度方面,截至2024年一季度末,公司股东总户数为6.51万户,较上年末下降了771户,降幅1.17%;户均持股市值由上年末的8.17万元下降至7.35万元,降幅为10.04%。
