龙虎榜丨川发龙蟒今日跌停,上榜营业部合计净卖出2.33亿元

查股网  2024-11-06 21:00  川发龙蟒(002312)个股分析

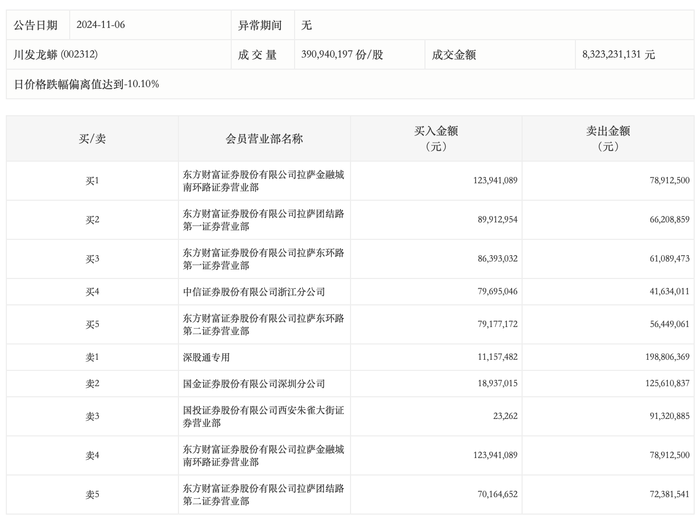
11月6日,川发龙蟒今日跌停,龙虎榜数据显示,上榜营业部席位全天成交13.52亿元,占当日总成交金额比例为16.24%。其中,买入金额为5.59亿元,卖出金额为7.92亿元,合计净卖出2.33亿元。

具体来看,深股通专用、国金证券深圳分公司分别卖出1.99亿元、1.26亿元;东方财富证券拉萨金融城南环路证券营业部、东方财富证券拉萨团结路第一证券营业部分别买入1.24亿元、8991.30万元。