龙虎榜丨日海智能今日涨停,机构合计净买入1473.14万元

查股网  2023-12-18 17:05  日海智能(002313)个股分析

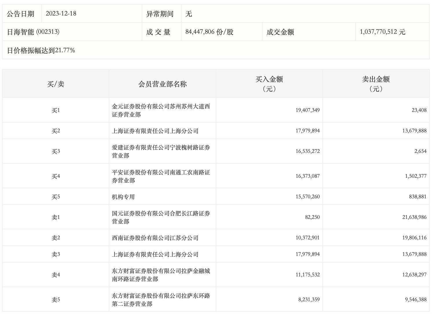
12月18日,日海智能今日涨停,全天换手率达22.57%,振幅达19.67%。龙虎榜数据显示,营业部席位合计净买入3605.09万元。其中,机构买入1557.03万元,卖出83.89万元,合计净买入1473.14万元。此外,金元证券苏州苏州大道西证券营业部、上海证券上海分公司分别买入1940.73万元、1797.99万元;国元证券合肥长江路证券营业部、西南证券江苏分公司分别卖出2163.90万元、1980.61万元。