龙虎榜丨日海智能今日跌停,中关村大街卖出1096.33万元

查股网  2023-12-21 20:18  日海智能(002313)个股分析

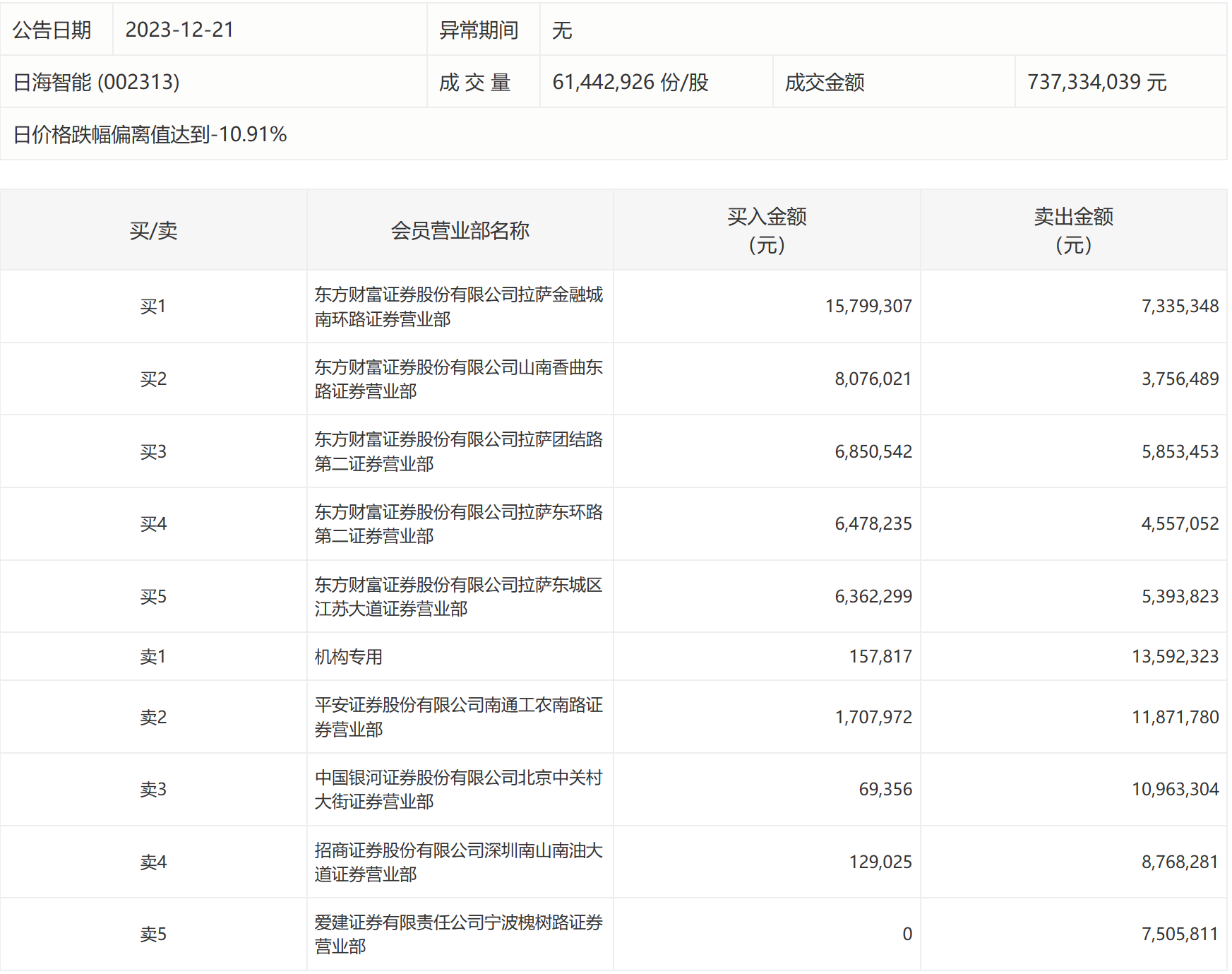
12月21日,日海智能今日跌停,全天换手率达16.42%,振幅达7.49%。龙虎榜数据显示,营业部席位合计净卖出3396.71万元。其中,机构买入15.78万元,卖出1359.23万元,合计净卖出1343.45万元。此外,平安证券南通工农南路证券营业部、中国银河证券北京中关村大街证券营业部分别卖出1187.18万元、1096.33万元;东方财富证券拉萨金融城南环路证券营业部、东方财富证券山南香曲东路证券营业部分别买入1579.93万元、807.60万元。