龙虎榜丨焦点科技今日涨停,知名游资著名刺客净买入1083.59万元

http://ddx.gubit.cn  2023-04-18 16:41  焦点科技(002315)公司分析

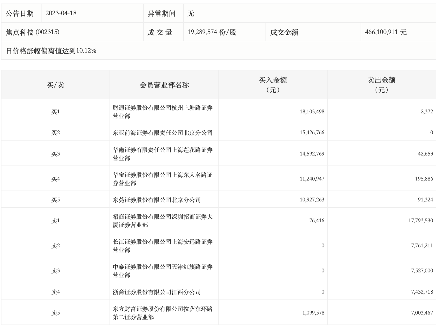
4月18日,焦点科技今日涨停,龙虎榜数据显示,上榜营业部席位全天成交1.19亿元,占当日总成交金额比例为25.6%。其中,买入金额为7146.92万元,卖出金额为4785.02万元,合计净买入2361.91万元。

具体来看,知名游资现身龙虎榜,著名刺客(东莞证券股份有限公司北京分公司)净买入1083.59万元。此外,财通证券杭州上塘路证券营业部、东亚前海证券北京分公司分别买入1810.55万元、1542.68万元;招商证券深圳招商证券大厦证券营业部、长江证券上海安远路证券营业部分别卖出1779.35万元、776.12万元。