龙虎榜丨焦点科技今日涨5.31%,机构合计净卖出1.68亿元,深股通专用买入1.26亿元

http://ddx.gubit.cn  2023-06-21 16:32  焦点科技(002315)公司分析

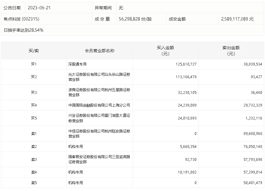
6月21日,焦点科技今日涨5.31%,龙虎榜数据显示,上榜营业部席位全天成交7.35亿元,占当日总成交金额比例为28.4%。其中,买入金额为3.35亿元,卖出金额为4.0亿元,合计净卖出6494.99万元。

具体来看,机构买入1585.94万元,卖出1.84亿元,合计净卖出1.68亿元。此外,深股通专用、光大证券汕头华山路证券营业部分别买入1.26亿元、1.13亿元;中信证券杭州延安路证券营业部、国泰君安证券三亚迎宾路证券营业部分别卖出8948.10万元、5779.37万元。