龙虎榜丨皖通科技今日跌停,机构合计净买入3332.3万元

查股网  2023-11-30 21:49  皖通科技(002331)个股分析

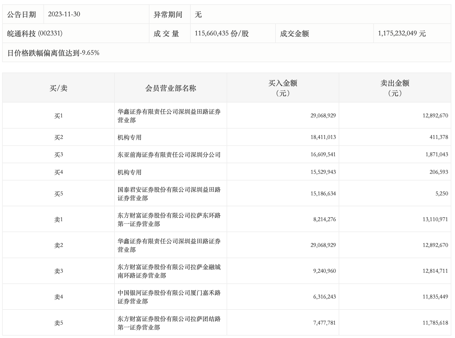
11月30日,皖通科技今日跌停,全天换手率达29.7%,振幅达8.08%。龙虎榜数据显示,营业部席位合计净买入6112.16万元。其中,机构买入3394.1万元,卖出61.8万元,合计净买入3332.3万元。此外,东方财富证券拉萨东环路第一证券营业部、华鑫证券深圳益田路证券营业部分别卖出1311.10万元、1289.27万元;华鑫证券深圳益田路证券营业部、东亚前海证券深圳分公司分别买入2906.89万元、1660.95万元。