龙虎榜丨罗普斯金今日跌9.1%,知名游资作手新一净买入1738.3万元

查股网  2024-01-19 16:43  罗普斯金(002333)个股分析

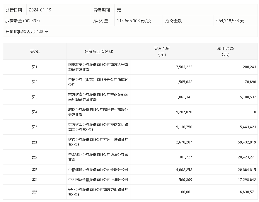
1月19日,罗普斯金今日跌9.1%,龙虎榜数据显示,上榜营业部席位全天成交2.11亿元,占当日总成交金额比例为21.9%。其中,买入金额为6622.83万元,卖出金额为1.45亿元,合计净卖出7875.28万元。

具体来看,知名游资现身龙虎榜,财通证券杭州上塘路证券营业部、中国银河证券德清证券营业部分别卖出5943.29万元、2042.33万元;作手新一(国泰君安证券南京太平南路证券营业部)、中信证券(山东)淄博分公司分别买入1758.32万元、1150.58万元。