龙虎榜 | 人人乐今日涨停,上榜营业部席位全天合计净买入3162.6万元

http://ddx.gubit.cn  2023-03-30 16:43  人人乐(002336)公司分析

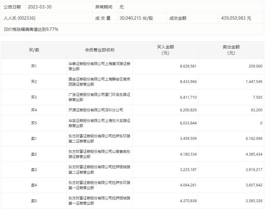
人人乐今日涨停,龙虎榜数据显示,上榜营业部席位全天成交7839.41万元,占当日总成交金额比例为17.86%。其中,买入金额为5501.01万元,卖出金额为2338.41万元,合计净买入3162.6万元。

具体来看,华泰证券上海黄河路证券营业部、国金证券上海静安区南京西路证券营业部分别买入862.96万元、843.40万元;东方财富证券拉萨东环路第二证券营业部、东方财富证券山南香曲东路证券营业部分别卖出616.21万元、438.54万元。