杰瑞股份:2023年净利同比增长9.33% 拟10派4.9元

中证智能财讯 杰瑞股份(002353)4月3日披露2023年年报。2023年,公司实现营业总收入139.12亿元,同比增长21.94%;归母净利润24.54亿元,同比增长9.33%;扣非净利润23.87亿元,同比增长12.27%;经营活动产生的现金流量净额为10.49亿元,同比增长4.06%;报告期内,杰瑞股份基本每股收益为2.41元,加权平均净资产收益率为13.45%。公司2023年年度利润分配预案为:拟向全体股东每10股派4.9元(含税)。

以4月3日收盘价计算,杰瑞股份目前市盈率(TTM)约为13.72倍,市净率(LF)约为1.74倍,市销率(TTM)约为2.42倍。

公司近年市盈率(TTM)、市净率(LF)、市销率(TTM)历史分位图如下所示:



数据统计显示,杰瑞股份近三年营业总收入复合增长率为18.81%,在能源及重型设备行业已披露2023年数据的14家公司中排名第3。近三年净利润复合年增长率为13.24%,排名4/14。

资料显示,报告期,公司从事的主要业务是高端装备制造、油气工程及油气田技术服务、环境治理、新能源领域。公司的产品和服务主要应用于石油天然气的勘探开发、集运输送,环境治理、新能源等。
分产品来看,2023年公司主营业务中,油气装备制造及技术服务收入117.56亿元,同比增长28.75%,占营业收入的84.50%;维修改造及配件贸易收入18.63亿元,同比增长14.18%,占营业收入的13.39%;环保服务收入2.53亿元,同比下降58.62%,占营业收入的1.82%。

截至2023年末,公司员工总数为6109人,人均创收227.73万元,人均创利40.18万元,人均薪酬19.10万元,较上年同期分别增长16.71%、4.64%、4.48%。

2023年,公司毛利率为33.05%,同比下降0.18个百分点;净利率为17.92%,较上年同期下降2.13个百分点。从单季度指标来看,2023年第四季度公司毛利率为32.28%,同比上升0.74个百分点,环比上升2.31个百分点;净利率为17.31%,较上年同期下降0.61个百分点,较上一季度上升1.42个百分点

分产品看,油气装备制造及技术服务、维修改造及配件贸易、环保服务2023年毛利率分别为33.32%、30.79%、35.34%。
报告期内,公司前五大客户合计销售金额41.71亿元,占总销售金额比例为29.99%,公司前五名供应商合计采购金额11.51亿元,占年度采购总额比例为12.46%。

数据显示,2023年公司加权平均净资产收益率为13.45%,较上年同期下降1.60个百分点;公司2023年投入资本回报率为11.07%,较上年同期下降1.87个百分点。

2023年,公司经营活动现金流净额为10.49亿元,同比增长4.06%;筹资活动现金流净额12.37亿元,同比减少21.54亿元;投资活动现金流净额-12.06亿元,上年同期为-38.98亿元。
进一步统计发现,2023年公司自由现金流为1.84亿元,上年同期为-13.05亿元。

2023年,公司营业收入现金比为90.91%,净现比为42.73%。

营运能力方面,2023年,公司公司总资产周转率为0.46次,上年同期为0.47次(2022年行业平均值为0.47次,公司位居同行业22/48);固定资产周转率为5.09次,上年同期为5.62次(2022年行业平均值为4.07次,公司位居同行业16/48);公司应收账款周转率、存货周转率分别为2.29次、1.85次。

2023年,公司期间费用为14.99亿元,较上年同期增加5.14亿元;期间费用率为10.77%,较上年同期上升2.14个百分点。其中,销售费用同比增长13.32%,管理费用同比增长10.16%,研发费用同比增长39.33%,财务费用由去年同期的-2.74亿元变为-946.18万元。

资产重大变化方面,截至2023年年末,公司固定资产较上年末增加47.35%,占公司总资产比重上升2.68个百分点;预付款项较上年末减少58.30%,占公司总资产比重下降2.46个百分点;长期应收款较上年末增加50.87%,占公司总资产比重上升1.99个百分点;交易性金融资产较上年末减少15.30%,占公司总资产比重下降1.56个百分点。

负债重大变化方面,截至2023年年末,公司应付票据较上年末减少48.76%,占公司总资产比重下降4.70个百分点;长期借款较上年末增加86.75%,占公司总资产比重上升1.35个百分点;应付账款较上年末增加16.60%,占公司总资产比重上升0.70个百分点;一年内到期的非流动负债较上年末增加406.38%,占公司总资产比重上升1.27个百分点。

从存货变动来看,截至2023年年末,公司存货账面价值为51.24亿元,占净资产的26.52%,较上年末增加1.55亿元。其中,存货跌价准备为9004.46万元,计提比例为1.73%。

2023年全年,公司研发投入金额为5.11亿元,同比增长39.33%;研发投入占营业收入比例为3.67%,相比上年同期上升0.45个百分点。此外,公司全年研发投入资本化率为0。



资料显示,报告期内,公司共新增授权专利372件,其中新增授权发明专利169件(含美国授权专利43件),新增软件著作权21件,新增商标权29件。截至报告期末公司累计拥有有效授权专利1825件,其中发明专利354件(含美国授权专利74件),累计拥有软件著作权156件,累计拥有商标权250件。
在偿债能力方面,公司2023年年末资产负债率为36.60%,相比上年末下降1.39个百分点;有息资产负债率为11.35%,相比上年末上升3.36个百分点。

2023年,公司流动比率为2.33,速动比率为1.80。

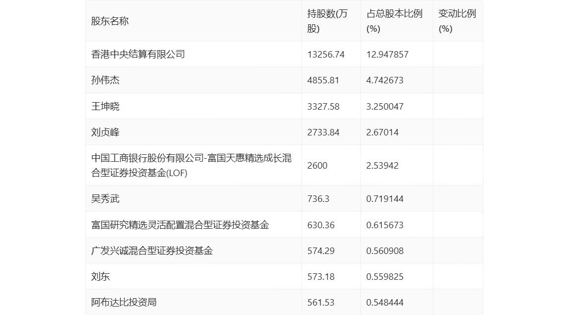
年报显示,2023年年末公司十大流通股东中,新进股东为刘东、阿布达比投资局,取代了三季度末的广发高端制造股票型发起式证券投资基金、广发诚享混合型证券投资基金。在具体持股比例上,富国研究精选灵活配置混合型证券投资基金持股有所上升,香港中央结算有限公司、中国工商银行股份有限公司-富国天惠精选成长混合型证券投资基金(LOF)、广发兴诚混合型证券投资基金持股有所下降。

筹码集中度方面,截至2023年年末,公司股东总户数为3.38万户,较三季度末下降了565户,降幅1.64%;户均持股市值由三季度末的94.89万元下降至85.04万元,降幅为10.38%。

指标注解:
市盈率
=总市值/净利润。当公司亏损时市盈率为负,此时用市盈率估值没有实际意义,往往用市净率或市销率做参考。
市净率
=总市值/净资产。市净率估值法多用于盈利波动较大而净资产相对稳定的公司。
市销率
=总市值/营业收入。市销率估值法通常用于亏损或微利的成长型公司。
文中市盈率和市销率采用TTM方式,即以截至最近一期财报(含预报)12个月的数据计算。市净率采用LF方式,即以最近一期财报数据计算。
市盈率为负时,不显示当期分位数,会导致折线图中断。