查股网.CN
首页
选股
热点
资金
板块
大盘
DDX
游资
龙虎
导航
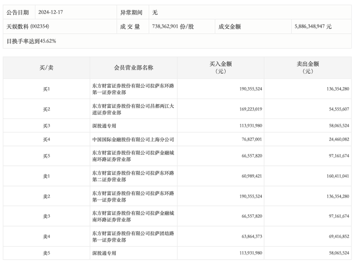
龙虎榜丨天娱数科今日涨停,深股通买入1.14亿元并卖出5806.55万元
龙虎榜丨天娱数科今日涨停,深股通买入1.14亿元并卖出5806.55万元
查股网
2024-12-17 16:35
天娱数科(002354)个股分析
12月17日,
天娱数科
今日涨停,成交额58.86亿元,换手率45.62%,盘后龙虎榜数据显示,深股通专用席位买入1.14亿元并卖出5806.55万元。