龙虎榜丨兴民智通今日跌停,机构合计净买入1492.67万元

http://ddx.gubit.cn  2023-06-15 16:33  兴民智通(002355)公司分析

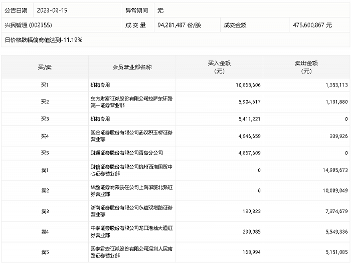
6月15日,兴民智通今日跌停,龙虎榜数据显示,上榜营业部席位全天成交7841.24万元,占当日总成交金额比例为16.49%。其中,买入金额为3259.76万元,卖出金额为4581.47万元,合计净卖出1321.71万元。

具体来看,机构买入1627.98万元,卖出135.31万元,合计净买入1492.67万元。此外,财信证券杭州西湖国贸中心证券营业部、华鑫证券上海漕溪北路证券营业部分别卖出1490.57万元、1000.90万元;东方财富证券拉萨东环路第一证券营业部、国金证券武汉积玉桥证券营业部分别买入590.46万元、494.67万元。