龙虎榜丨隆基机械今日涨停,营业部席位合计净买入6796.09万元

http://ddx.gubit.cn  2023-10-23 20:54  隆基机械(002363)公司分析

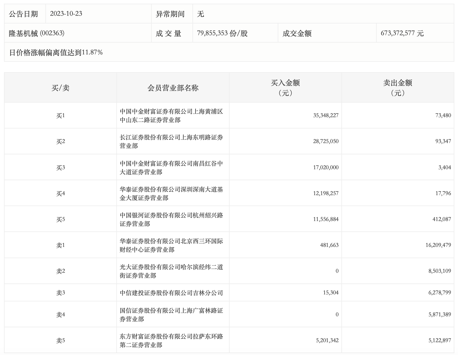
10月23日,隆基机械今日涨停,全天换手率达19.21%,振幅达13.05%。龙虎榜数据显示,营业部席位合计净买入6796.09万元。其中,中国中金财富证券有限公司上海黄浦区中山东二路证券营业部、长江证券上海东明路证券营业部分别买入3534.82万元、2872.51万元;华泰证券北京西三环国际财经中心证券营业部、光大证券哈尔滨经纬二道街证券营业部分别卖出1620.95万元、850.31万元。