融发核电:2024年第一季度盈利76.34万元 同比扭亏

中证智能财讯 融发核电(002366)4月25日披露2024年一季报。2024年第一季度,公司实现营业总收入1.39亿元,同比增长82.26%;归母净利润76.34万元,同比扭亏;扣非净利润亏损4.12万元,上年同期亏损936.84万元;经营活动产生的现金流量净额为-5.44亿元,上年同期为3.09亿元;报告期内,融发核电基本每股收益为0.0004元,加权平均净资产收益率为-0.01%。


2024年第一季度,公司毛利率为23.86%,同比上升25.78个百分点;净利率为-0.65%,较上年同期上升17.69个百分点。

数据显示,2024年第一季度公司加权平均净资产收益率为-0.01%,较上年同期增长0.23个百分点;公司2024年第一季度投入资本回报率为0.00%,较上年同期增长0.34个百分点。

2024年第一季度,公司经营活动现金流净额为-5.44亿元,同比减少8.53亿元;筹资活动现金流净额-4744.90万元,同比增加1.24亿元;投资活动现金流净额-1.78亿元,上年同期为-5617.86万元。

2024年第一季度,公司营业收入现金比为138.53%,净现比为-71265.87%。

资产重大变化方面,截至2024年一季度末,公司货币资金较上年末减少17.80%,占公司总资产比重下降3.99个百分点;在建工程较上年末增加9.66%,占公司总资产比重上升2.36个百分点;存货较上年末增加13.36%,占公司总资产比重上升1.55个百分点;其他应收款(含利息和股利)较上年末减少16.02%,占公司总资产比重下降1.24个百分点。

负债重大变化方面,截至2024年一季度末,公司其他应付款(含利息和股利)较上年末减少33.27%,占公司总资产比重下降1.25个百分点;应付票据较上年末增加43.71%,占公司总资产比重上升0.23个百分点;长期应付款合计较上年末减少3.60%,占公司总资产比重下降0.09个百分点;应交税费较上年末减少4.49%,占公司总资产比重下降0.09个百分点。

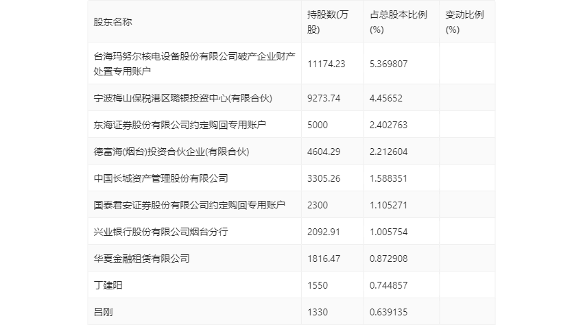
一季报显示,2024年一季度末公司十大流通股东中,新进股东为东海证券股份有限公司约定购回专用账户、国泰君安证券股份有限公司约定购回专用账户、吕刚,取代了上年末的烟台瑞好投资管理合伙企业(有限合伙)、上海嘉勋商务咨询合伙企业(有限合伙)、香港中央结算有限公司。在具体持股比例上,台海玛努尔核电设备股份有限公司破产企业财产处置专用账户、宁波梅山保税港区璐银投资中心(有限合伙)、德富海(烟台)投资合伙企业(有限合伙)、丁建阳持股有所下降。

筹码集中度方面,截至2024年一季度末,公司股东总户数为5.67万户,较上年末下降了76户,降幅0.13%;户均持股市值由上年末的19.72万元下降至16.70万元,降幅为15.31%。
