北方华创:2024年上半年净利润27.81亿元 同比增长54.54%

中证智能财讯 北方华创(002371)8月28日披露2024年半年度报告。2024年上半年,公司实现营业收入123.35亿元,同比增长46.38%;归母净利润27.81亿元,同比增长54.54%;扣非净利润26.4亿元,同比增长64.06%;经营活动产生的现金流量净额为-2.92亿元,上年同期为-3.61亿元;报告期内,北方华创基本每股收益为5.2403元,加权平均净资产收益率为10.80%。
公告称,公司营业收入变化主要由于公司订单增加,带来销售量的相应增加。

以8月27日收盘价计算,北方华创目前市盈率(TTM)约为32.71倍,市净率(LF)约为5.91倍,市销率(TTM)约为6.14倍。

公司近年市盈率(TTM)、市净率(LF)、市销率(TTM)历史分位图如下所示:



根据半年报,公司第二季度实现营业总收入64.76亿元,同比增长42.15%,环比增长10.52%;归母净利润16.54亿元,同比增长36.98%,环比增长46.82%;扣非净利润15.67亿元,同比增长45.77%,环比增长46.15%。

半年报称,北方华创专注于半导体基础产品的研发、生产、销售和技术服务,主要产品为电子工艺装备和电子元器件。电子工艺装备包括半导体装备、真空及新能源锂电装备,电子元器件包括电阻、电容、晶体器件、模块电源、微波组件等。北方华创始终坚持科技创新,不断推进新产品研发和产品迭代升级,积极拓展产品应用领域,以满足快速发展的市场需求。
2024年上半年,公司毛利率为45.50%,同比上升3.13个百分点;净利率为22.54%,较上年同期上升0.49个百分点。从单季度指标来看,2024年第二季度公司毛利率为47.40%,同比上升4.03个百分点,环比上升4.00个百分点;净利率为25.66%,较上年同期下降1.62个百分点,较上一季度上升6.57个百分点。

数据显示,2024年上半年公司加权平均净资产收益率为10.80%,较上年同期增长2.09个百分点;公司2024年上半年投入资本回报率为8.56%,较上年同期增长1.38个百分点。

2024年上半年,公司经营活动现金流净额为-2.92亿元,同比增加6883.84万元;筹资活动现金流净额4.82亿元,同比减少9.99亿元;投资活动现金流净额-6.65亿元,上年同期为-9.31亿元。
进一步统计发现,2024年上半年公司自由现金流为9.57亿元,上年同期为-3.77亿元。

2024年上半年,公司营业收入现金比为100.73%,净现比为-10.52%。

营运能力方面,2024年上半年,公司公司总资产周转率为0.22次,上年同期为0.19次(2023年上半年行业平均值为0.14次,公司位居同行业4/18);固定资产周转率为2.77次,上年同期为3.30次(2023年上半年行业平均值为2.74次,公司位居同行业7/18);公司应收账款周转率、存货周转率分别为2.62次、0.35次。

2024年上半年,公司期间费用为27.43亿元,较上年同期增加8.93亿元;期间费用率为22.24%,较上年同期上升0.28个百分点。其中,销售费用同比增长43.12%,管理费用同比增长28.36%,研发费用同比增长58.1%,财务费用由去年同期的-3485.57万元变为1347.88万元。
资料显示,销售费用的变动主要因为公司业务规模扩大,销售及服务人员数量增加;管理费用的变动主要因为公司业务规模扩大,财务、安全、信息技术等职能管理人员数量增加;财务费用的变动主要因为汇兑损失增加0.43亿。

资产重大变化方面,截至2024年上半年末,公司开发支出较上年末减少21.77%,占公司总资产比重下降3.55个百分点;存货较上年末增加24.35%,占公司总资产比重上升3.51个百分点;无形资产较上年末增加89.76%,占公司总资产比重上升3.30个百分点;货币资金较上年末减少3.94%,占公司总资产比重下降3.29个百分点。

负债重大变化方面,截至2024年上半年末,公司应付账款较上年末增加59.85%,占公司总资产比重上升4.88个百分点;应付票据较上年末减少50.42%,占公司总资产比重下降1.81个百分点;合同负债较上年末增加8.03%,占公司总资产比重下降0.54个百分点;其他应付款(含利息和股利)较上年末增加91.46%,占公司总资产比重上升0.49个百分点。

从存货变动来看,截至2024年上半年末,公司存货账面价值为211.3亿元,占净资产的78.16%,较上年末增加41.38亿元。其中,存货跌价准备为3314.02万元,计提比例为0.16%。

在偿债能力方面,公司2024年上半年末资产负债率为53.54%,相比上年末下降0.17个百分点;有息资产负债率为9.78%,相比上年末下降1.22个百分点。

2024年上半年,公司流动比率为1.90,速动比率为0.96。

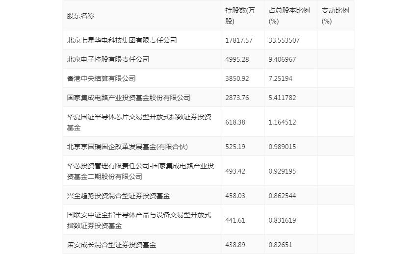
半年报显示,2024年上半年末公司十大流通股东中,持股最多的为北京七星华电科技集团有限责任公司,占比33.55%。十大流通股东名单相比2024年一季报维持不变。在具体持股比例上,香港中央结算有限公司、国联安中证全指半导体产品与设备交易型开放式指数证券投资基金持股有所上升,北京七星华电科技集团有限责任公司、北京电子控股有限责任公司、国家集成电路产业投资基金股份有限公司、华夏国证半导体芯片交易型开放式指数证券投资基金、北京京国瑞国企改革发展基金(有限合伙)、华芯投资管理有限责任公司-国家集成电路产业投资基金二期股份有限公司、兴全趋势投资混合型证券投资基金、诺安成长混合型证券投资基金持股有所下降。

筹码集中度方面,截至2024年上半年末,公司股东总户数为5.22万户,较一季度末下降了6153户,降幅10.54%;户均持股市值由一季度末的277.84万元上升至325.14万元,增幅为17.02%。

指标注解:
市盈率
=总市值/净利润。当公司亏损时市盈率为负,此时用市盈率估值没有实际意义,往往用市净率或市销率做参考。
市净率
=总市值/净资产。市净率估值法多用于盈利波动较大而净资产相对稳定的公司。
市销率
=总市值/营业收入。市销率估值法通常用于亏损或微利的成长型公司。
文中市盈率和市销率采用TTM方式,即以截至最近一期财报(含预报)12个月的数据计算。市净率采用LF方式,即以最近一期财报数据计算。
市盈率为负时,不显示当期分位数,会导致折线图中断。