龙虎榜丨合众思壮今日跌停,机构合计净卖出195.84万元

http://ddx.gubit.cn  2023-03-29 16:43  合众思壮(002383)公司分析

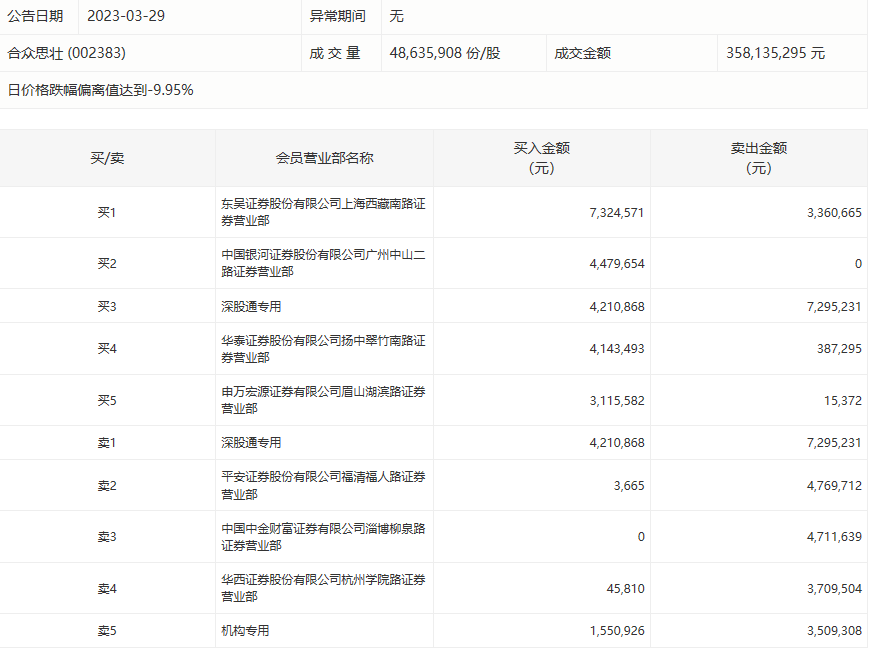
3月29日,合众思壮今日跌停,龙虎榜数据显示,上榜营业部席位全天成交5263.33万元,占当日总成交金额比例为14.7%。其中,买入金额为2487.46万元,卖出金额为2775.87万元,合计净卖出288.42万元。

具体来看,机构买入155.09万元,卖出350.93万元,合计净卖出195.84万元。此外,深股通专用、平安证券福清福人路证券营业部分别卖出729.52万元、476.97万元;东吴证券上海西藏南路证券营业部、中国银河证券广州中山二路证券营业部分别买入732.46万元、447.97万元。