维信诺:2024年上半年亏损11.77亿元

中证智能财讯 维信诺(002387)8月30日披露2024年半年报。2024年上半年,公司实现营业总收入39.33亿元,同比增长46.05%;归母净利润亏损11.77亿元,上年同期亏损16.34亿元;扣非净利润亏损13.10亿元,上年同期亏损16.56亿元;经营活动产生的现金流量净额为12.56亿元,上年同期为-4.51亿元;报告期内,维信诺基本每股收益为-0.8495元,加权平均净资产收益率为-15.75%。
公告称,公司营业收入变化主要由于报告期内公司产品市场需求和产品价格增加。

以8月29日收盘价计算,维信诺目前市盈率(TTM)约为-2.54倍,市净率(LF)约为1.22倍,市销率(TTM)约为1.16倍。

公司近年市盈率(TTM)、市净率(LF)、市销率(TTM)历史分位图如下所示:



根据半年报,公司第二季度实现营业总收入21.36亿元,同比增长11.03%,环比增长18.90%;归母净利润-5.46亿元,同比增长37.11%,环比增长13.34%;扣非净利润-6.6亿元,同比增长25.29%,环比下降1.46%。

半年报显示,公司聚焦于新型显示业务,研发、生产和销售OLED小尺寸、中尺寸显示器件,以及Micro-LED显示屏,应用领域涵盖智能手机、智能穿戴、平板、笔记本电脑、车载显示、超大尺寸等方面,并开拓布局智慧家居、工控医疗和创新商用等领域的应用和服务。
分产品来看,2024年上半年公司主营业务中,OLED产品收入36.42亿元,同比增长61.8%,占营业收入的92.61%;其他产品或服务收入2.91亿元,同比下降34.2%,占营业收入的7.39%。

2024年上半年,公司毛利率为-10.50%,同比上升22.36个百分点;净利率为-36.81%,较上年同期上升37.70个百分点。从单季度指标来看,2024年第二季度公司毛利率为-8.81%,同比上升27.38个百分点,环比上升3.71个百分点;净利率为-32.03%,较上年同期上升24.03个百分点,较上一季度上升10.47个百分点。

数据显示,2024年上半年公司加权平均净资产收益率为-15.75%,较上年同期下降0.76个百分点;公司2024年上半年投入资本回报率为-4.20%,较上年同期增长2.48个百分点。

2024年上半年,公司经营活动现金流净额为12.56亿元,同比增加17.07亿元,主要系报告期内公司营收规模扩大,销售回款增加所致;筹资活动现金流净额-2.84亿元,同比减少7.62亿元,主要系报告期内公司支付河北显示基金财产份额回购款所致;投资活动现金流净额-2.92亿元,上年同期为-7.49亿元,主要系报告期内收回投资收到的现金较去年同期增加,同时支付投资款、设备款较上年同期减少所致。
进一步统计发现,2024年上半年公司自由现金流为6.86亿元,上年同期为-16.39亿元。

2024年上半年,公司营业收入现金比为252.49%,净现比为-106.74%。

营运能力方面,2024年上半年,公司总资产周转率为0.10次,上年同期为0.07次(2023年上半年行业平均值为0.24次,公司位居同行业35/40);公司应收账款周转率、存货周转率分别为1.65次、8.27次。

2024年上半年,公司期间费用为12.78亿元,较上年同期增加7546.85万元;但期间费用率为32.49%,较上年同期下降12.15个百分点。其中,销售费用同比增长46.99%,管理费用同比增长3.84%,研发费用同比下降1.01%,财务费用同比增长14.38%。
资料显示,销售费用的变动主要因为报告期内公司产品销售规模增加。

资产重大变化方面,截至2024年上半年末,公司固定资产较上年末减少5.39%,占公司总资产比重下降4.71个百分点;货币资金较上年末增加28.33%,占公司总资产比重上升3.95个百分点;在建工程较上年末增加190.68%,占公司总资产比重上升0.55个百分点;其他应收款(含利息和股利)较上年末减少16.72%,占公司总资产比重下降0.50个百分点。

负债重大变化方面,截至2024年上半年末,公司长期应付款合计较上年末增加77.71%,占公司总资产比重上升3.13个百分点;应付票据较上年末增加45.36%,占公司总资产比重上升2.01个百分点;短期借款较上年末增加9.77%,占公司总资产比重上升0.73个百分点;长期借款较上年末增加8.74%,占公司总资产比重上升0.55个百分点。

从存货变动来看,截至2024年上半年末,公司存货账面价值为5.56亿元,占净资产的8.18%,较上年末增加6026.95万元。其中,存货跌价准备为2.43亿元,计提比例为30.45%。

在偿债能力方面,公司2024年上半年末资产负债率为77.36%,相比上年末上升5.03个百分点;有息资产负债率为41.78%,相比上年末上升0.74个百分点。

2024年上半年,公司流动比率为0.57,速动比率为0.54。

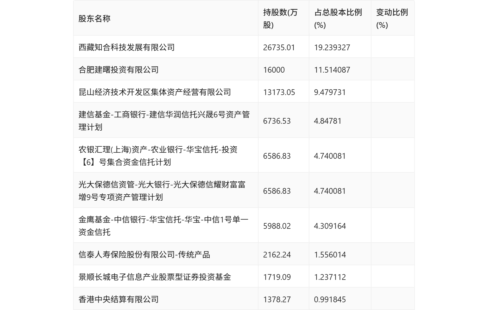
半年报显示,2024年上半年末公司十大流通股东中,新进股东为信泰人寿保险股份有限公司-传统产品,取代了一季度末的景顺长城成长龙头一年持有期混合型证券投资基金。在具体持股比例上,西藏知合科技发展有限公司、合肥建曙投资有限公司、昆山经济技术开发区集体资产经营有限公司、建信基金-工商银行-建信华润信托兴晟6号资产管理计划、农银汇理(上海)资产-农业银行-华宝信托-投资【6】号集合资金信托计划、光大保德信资管-光大银行-光大保德信耀财富富增9号专项资产管理计划、金鹰基金-中信银行-华宝信托-华宝-中信1号单一资金信托、景顺长城电子信息产业股票型证券投资基金、香港中央结算有限公司持股有所下降。

值得注意的是,根据半年报数据,维信诺17.27%股份处于质押状态。其中,第三大股东西藏知合科技发展有限公司质押2.40亿股公司股份,占其全部持股的89.77%。
筹码集中度方面,截至2024年上半年末,公司股东总户数为4.16万户,较一季度末增长了2554户,增幅6.54%;户均持股市值由一季度末的28.49万元下降至20.30万元,降幅为28.75%。

指标注解:
市盈率
=总市值/净利润。当公司亏损时市盈率为负,此时用市盈率估值没有实际意义,往往用市净率或市销率做参考。
市净率
=总市值/净资产。市净率估值法多用于盈利波动较大而净资产相对稳定的公司。
市销率
=总市值/营业收入。市销率估值法通常用于亏损或微利的成长型公司。
文中市盈率和市销率采用TTM方式,即以截至最近一期财报(含预报)12个月的数据计算。市净率采用LF方式,即以最近一期财报数据计算。
市盈率为负时,不显示当期分位数,会导致折线图中断。