星网锐捷:2024年上半年净利润1.25亿元 同比下降36.88%

中证智能财讯 星网锐捷(002396)8月23日披露2024年半年报。2024年上半年,公司实现营业总收入72.99亿元,同比增长4.72%;归母净利润1.25亿元,同比下降36.88%;扣非净利润1.06亿元,同比下降23.03%;经营活动产生的现金流量净额为-15.56亿元,上年同期为-4.48亿元;报告期内,星网锐捷基本每股收益为0.2134元,加权平均净资产收益率为1.94%。

以8月22日收盘价计算,星网锐捷目前市盈率(TTM)约为21.74倍,市净率(LF)约为1.19倍,市销率(TTM)约为0.47倍。

公司近年市盈率(TTM)、市净率(LF)、市销率(TTM)历史分位图如下所示:



根据半年报,公司第二季度实现营业总收入41.6亿元,同比增长15.00%,环比增长32.51%;归母净利润1.14亿元,同比下降3.22%,环比增长883.49%;扣非净利润1.06亿元,同比增长61.61%,环比增长31847.36%。

资料显示,公司所从事的主要业务是为企业级客户提供信息化解决方案。公司的主要产品包括智慧网络、智慧云、智慧通讯、智慧金融、智慧娱乐、智慧社区等领域。
分产品来看,2024年上半年公司主营业务中,企业级网络设备收入45.60亿元,同比增长1.68%,占营业收入的62.48%;通讯产品收入11.68亿元,同比增长0.51%,占营业收入的16.00%;网络终端收入4.16亿元,同比增长14.14%,占营业收入的5.70%。

2024年上半年,公司毛利率为32.76%,同比下降2.38个百分点;净利率为3.30%,较上年同期下降1.35个百分点。从单季度指标来看,2024年第二季度公司毛利率为31.25%,同比下降4.40个百分点,环比下降3.51个百分点;净利率为5.21%,较上年同期上升0.37个百分点,较上一季度上升4.44个百分点。

分产品看,企业级网络设备、通讯产品、网络终端2024年上半年毛利率分别为39.50%、16.80%、17.66%。

数据显示,2024年上半年公司加权平均净资产收益率为1.94%,较上年同期下降1.27个百分点;公司2024年上半年投入资本回报率为1.23%,较上年同期下降1.08个百分点。

2024年上半年,公司经营活动现金流净额为-15.56亿元,同比减少11.08亿元;筹资活动现金流净额8.79亿元,同比增加12.83亿元;投资活动现金流净额-7.72亿元,上年同期为-1.82亿元。
进一步统计发现,2024年上半年公司自由现金流为-19.13亿元,上年同期为-5.58亿元。

2024年上半年,公司营业收入现金比为100.64%,净现比为-1243.40%。

营运能力方面,2024年上半年,公司公司总资产周转率为0.47次,上年同期为0.49次(2023年上半年行业平均值为0.22次,公司位居同行业2/37);固定资产周转率为5.39次,上年同期为4.73次(2023年上半年行业平均值为2.01次,公司位居同行业5/37);公司应收账款周转率、存货周转率分别为2.67次、1.12次。

2024年上半年,公司期间费用为23.58亿元,较上年同期减少4138.57万元;期间费用率为32.30%,较上年同期下降2.12个百分点。其中,销售费用同比增长5.95%,管理费用同比增长14.7%,研发费用同比下降10.85%,财务费用由去年同期的-550.74万元变为-2422.08万元。

资产重大变化方面,截至2024年上半年末,公司货币资金较上年末减少26.39%,占公司总资产比重下降7.94个百分点;应收账款较上年末增加32.95%,占公司总资产比重上升4.55个百分点;存货较上年末增加10.69%,占公司总资产比重上升2.18个百分点;开发支出较上年末增加136.43%,占公司总资产比重上升0.92个百分点。

负债重大变化方面,截至2024年上半年末,公司短期借款较上年末增加116.53%,占公司总资产比重上升6.71个百分点;应付职工薪酬较上年末减少96.40%,占公司总资产比重下降2.83个百分点;应付票据较上年末减少19.92%,占公司总资产比重下降2.07个百分点;应付账款较上年末增加10.76%,占公司总资产比重上升1.10个百分点。

从存货变动来看,截至2024年上半年末,公司存货账面价值为45.89亿元,占净资产的71.55%,较上年末增加4.43亿元。其中,存货跌价准备为1.61亿元,计提比例为3.38%。

在偿债能力方面,公司2024年上半年末资产负债率为42.87%,相比上年末上升1.94个百分点;有息资产负债率为13.13%,相比上年末上升6.77个百分点。

2024年上半年,公司流动比率为1.78,速动比率为1.07。

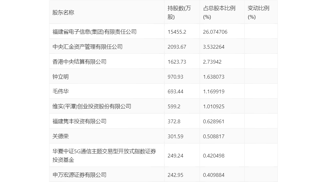
半年报显示,2024年上半年末公司十大流通股东中,新进股东为中央汇金资产管理有限任公司,取代了一季度末的中央汇金资产管理有限责任公司。在具体持股比例上,钟立明、毛伟华持股有所上升,香港中央结算有限公司、华夏中证5G通信主题交易型开放式指数证券投资基金、申万宏源证券有限公司持股有所下降。

筹码集中度方面,截至2024年上半年末,公司股东总户数为6.21万户,较一季度末下降了1995户,降幅3.11%;户均持股市值由一季度末的15.45万元下降至12.61万元,降幅为18.38%。

指标注解:
市盈率
=总市值/净利润。当公司亏损时市盈率为负,此时用市盈率估值没有实际意义,往往用市净率或市销率做参考。
市净率
=总市值/净资产。市净率估值法多用于盈利波动较大而净资产相对稳定的公司。
市销率
=总市值/营业收入。市销率估值法通常用于亏损或微利的成长型公司。
文中市盈率和市销率采用TTM方式,即以截至最近一期财报(含预报)12个月的数据计算。市净率采用LF方式,即以最近一期财报数据计算。
市盈率为负时,不显示当期分位数,会导致折线图中断。