龙虎榜丨省广集团今日跌6.02%,知名游资现身龙虎榜,方新侠卖出8064.2万元

http://ddx.gubit.cn  2023-07-21 16:45  省广集团(002400)公司分析

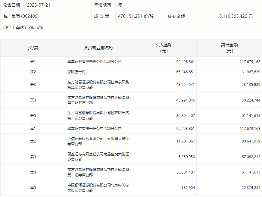
7月21日,省广集团今日跌6.02%,龙虎榜数据显示,上榜营业部席位全天成交7.78亿元,占当日总成交金额比例为25%。其中,买入金额为3.13亿元,卖出金额为4.64亿元,合计净卖出1.51亿元。

具体来看,知名游资现身龙虎榜,华鑫证券深圳分公司、方新侠(中信证券西安朱雀大街证券营业部)分别卖出1.18亿元、8064.20万元;华鑫证券深圳分公司、深股通专用分别买入9949.89万元、6624.67万元。