龙虎榜 | 省广集团今日涨停,知名游资小鳄鱼净买入5257.12万元

查股网  2024-12-11 21:12  省广集团(002400)个股分析

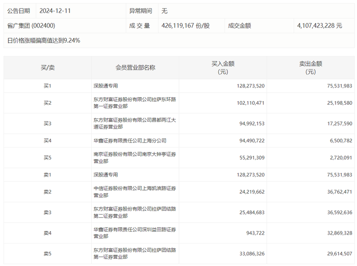
省广集团今日涨停,龙虎榜数据显示,上榜营业部席位全天成交8.22亿元,占当日总成交金额比例为20.01%。其中,买入金额为5.59亿元,卖出金额为2.63亿元,合计净买入2.96亿元。

具体来看,知名游资现身龙虎榜,小鳄鱼(南京证券股份有限公司南京大钟亭证券营业部)净买入5257.12万元。此外,深股通专用、东方财富证券拉萨东环路第一证券营业部分别买入1.28亿元、1.02亿元;深股通专用、中信证券上海凯滨路证券营业部分别卖出7553.20万元、3676.25万元。