龙虎榜丨中远海科今日涨停,机构合计净卖出3497.84万元

http://ddx.gubit.cn  2023-05-18 16:32  中远海科(002401)公司分析

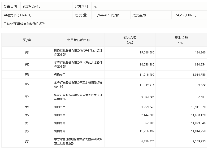
5月18日,中远海科今日涨停,龙虎榜数据显示,上榜营业部席位全天成交1.46亿元,占当日总成交金额比例为16.71%。其中,买入金额为8273.81万元,卖出金额为6330.87万元,合计净买入1942.93万元。

具体来看,机构买入1848.79万元,卖出5346.63万元,合计净卖出3497.84万元。此外,财通证券绍兴解放大道证券营业部、华宝证券上海东大名路证券营业部分别买入1958.81万元、1655.36万元;东方财富证券拉萨团结路第二证券营业部、华宝证券上海东大名路证券营业部分别卖出915.92万元、38.50万元。