龙虎榜丨和而泰今日涨停,知名游资方新侠净买入1.18亿元

查股网  2024-11-21 21:02  和而泰(002402)个股分析

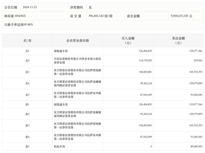
11月21日,和而泰今日涨停,龙虎榜数据显示,上榜营业部席位全天成交11.15亿元,占当日总成交金额比例为12.39%。其中,买入金额为5.4亿元,卖出金额为5.75亿元,合计净卖出3489.32万元。

具体来看,机构合计净卖出8968.98万元。此外,知名游资现身龙虎榜,深股通专用、方新侠(中信证券(维权)西安朱雀大街证券营业部)分别买入1.26亿元、1.19亿元;深股通专用、东方财富证券拉萨金融城南环路证券营业部分别卖出1.59亿元、1.29亿元。