龙虎榜丨和而泰今日换手率达50.61%,上榜营业部合计净卖出2.99亿元

查股网  2024-11-22 21:15  和而泰(002402)个股分析

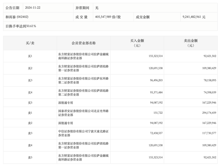
11月22日,和而泰今日跌6.15%,龙虎榜数据显示,上榜营业部席位全天成交15.68亿元,占当日总成交金额比例为16.97%。其中,买入金额为6.35亿元,卖出金额为9.34亿元,合计净卖出2.99亿元。

具体来看,国泰君安证券北京光华路证券营业部、深股通专用分别卖出2.94亿元、1.67亿元;东方财富证券拉萨金融城南环路证券营业部、东方财富证券拉萨团结路第一证券营业部分别买入1.55亿元、1.21亿元。