龙虎榜 | 和而泰今日跌9.9%,知名游资方新侠净买入3347.62万元

查股网  2024-11-25 20:57  和而泰(002402)个股分析

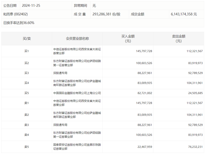
和而泰今日跌9.9%,龙虎榜数据显示,上榜营业部席位全天成交10.17亿元,占当日总成交金额比例为16.55%。其中,买入金额为5.23亿元,卖出金额为4.94亿元,合计净买入2874.72万元。

具体来看,知名游资现身龙虎榜,方新侠(中信证券西安朱雀大街证券营业部)、东方财富证券拉萨金融城南环路证券营业部分别卖出1.12亿元、1.04亿元;方新侠(中信证券西安朱雀大街证券营业部)、东方财富证券拉萨团结路第一证券营业部分别买入1.46亿元、1.01亿元。