海康威视:2024年上半年净利润50.64亿元 同比下降5.13%

中证智能财讯 海康威视(002415)8月17日披露2024年半年报。2024年上半年,公司实现营业总收入412.09亿元,同比增长9.68%;归母净利润50.64亿元,同比下降5.13%;扣非净利润52.43亿元,同比增长4.11%;经营活动产生的现金流量净额为-1.90亿元,上年同期为10.26亿元;报告期内,海康威视基本每股收益为0.539元,加权平均净资产收益率为6.51%。

以8月16日收盘价计算,海康威视目前市盈率(TTM)约为18.58倍,市净率(LF)约为3.48倍,市销率(TTM)约为2.76倍。

公司近年市盈率(TTM)、市净率(LF)、市销率(TTM)历史分位图如下所示:



根据半年报,公司第二季度实现营业总收入233.92亿元,同比增长9.46%,环比增长31.28%;归母净利润31.48亿元,同比下降10.73%,环比增长64.32%;扣非净利润34.83亿元,同比增长0.02%,环比增长97.85%。

资料显示,公司致力于将物联感知、人工智能、大数据技术服务于千行百业,引领智能物联新未来:以全面的感知技术,帮助人、物更好地链接,构筑智能世界的基础;以丰富的智能产品,洞察和满足多样化需求。
分产品来看,2024年上半年公司主营业务中,主业产品及服务收入302.30亿元,同比增长5.57%,占营业收入的73.36%;创新业务收入103.28亿元,同比增长26.13%,占营业收入的25.06%;主业建造工程收入6.51亿元,同比下降12.96%,占营业收入的1.58%。

2024年上半年,公司毛利率为45.05%,同比下降0.14个百分点;净利率为13.69%,较上年同期下降1.63个百分点。从单季度指标来看,2024年第二季度公司毛利率为44.51%,同比下降0.69个百分点,环比下降1.25个百分点;净利率为14.61%,较上年同期下降3.21个百分点,较上一季度上升2.14个百分点。

分产品看,主业产品及服务、创新业务、主业建造工程2024年上半年毛利率分别为46.47%、42.42%、21.06%。

数据显示,2024年上半年公司加权平均净资产收益率为6.51%,较上年同期下降1.09个百分点;公司2024年上半年投入资本回报率为5.46%,较上年同期下降0.87个百分点。

2024年上半年,公司经营活动现金流净额为-1.90亿元,同比减少12.15亿元,主要系本期采购支付的现金增加所致;筹资活动现金流净额-133.60亿元,同比减少89.65亿元,主要系本期偿还借款及现金分红等支出增加所致;投资活动现金流净额-19.03亿元,上年同期为-20.85亿元。
进一步统计发现,2024年上半年公司自由现金流为-45.93亿元,上年同期为-14.42亿元。

2024年上半年,公司营业收入现金比为113.30%,净现比为-3.74%。

营运能力方面,2024年上半年,公司公司总资产周转率为0.31次,上年同期为0.32次(2023年上半年行业平均值为0.18次,公司位居同行业3/26);公司应收账款周转率、存货周转率分别为1.14次、1.18次。

2024年上半年,公司期间费用为124.75亿元,较上年同期增加15.94亿元;期间费用率为30.27%,较上年同期上升1.31个百分点。其中,销售费用同比增长13.81%,管理费用同比增长14.85%,研发费用同比增长7.81%,财务费用由去年同期的-5.67亿元变为-2.50亿元。
资料显示,财务费用的变动主要因为受汇率波动影响,本期汇兑损失增加。

资产重大变化方面,截至2024年上半年末,公司货币资金较上年末减少31.25%,占公司总资产比重下降9.04个百分点;应收账款较上年末增加2.70%,占公司总资产比重上升2.99个百分点;其他应收款(含利息和股利)较上年末增加498.05%,占公司总资产比重上升2.27个百分点;固定资产较上年末增加14.29%,占公司总资产比重上升2.00个百分点。

负债重大变化方面,截至2024年上半年末,公司应付账款较上年末减少22.86%,占公司总资产比重下降2.23个百分点;长期借款较上年末减少36.47%,占公司总资产比重下降2.00个百分点;一年内到期的非流动负债较上年末增加39.35%,占公司总资产比重上升2.15个百分点;应付职工薪酬较上年末减少32.62%,占公司总资产比重下降1.18个百分点。

从存货变动来看,截至2024年上半年末,公司存货账面价值为190.37亿元,占净资产的25.81%,较上年末减少1.75亿元。其中,存货跌价准备为12.96亿元,计提比例为6.38%。

在偿债能力方面,公司2024年上半年末资产负债率为37.44%,相比上年末下降3.39个百分点;有息资产负债率为11.81%,相比上年末下降0.34个百分点。

2024年上半年,公司流动比率为2.50,速动比率为2.03。

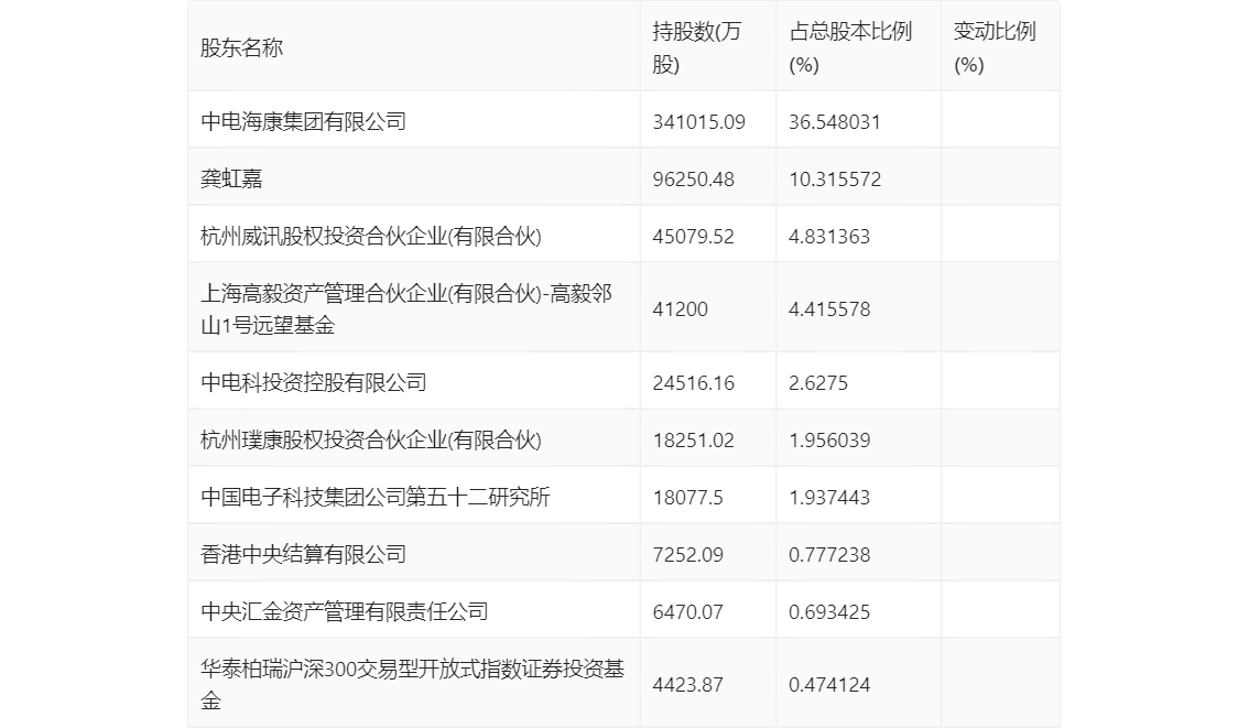
半年报显示,2024年上半年末公司十大流通股东中,持股最多的为中电海康集团有限公司,占比36.55%。十大流通股东名单相比2024年一季报维持不变。在具体持股比例上,上海高毅资产管理合伙企业(有限合伙)-高毅邻山1号远望基金、华泰柏瑞沪深300交易型开放式指数证券投资基金持股有所上升,香港中央结算有限公司持股有所下降。

筹码集中度方面,截至2024年上半年末,公司股东总户数为33.71万户,较一季度末下降了1.91万户,降幅5.37%;户均持股市值由一季度末的84.24万元上升至85.56万元,增幅为1.57%。

指标注解:
市盈率
=总市值/净利润。当公司亏损时市盈率为负,此时用市盈率估值没有实际意义,往往用市净率或市销率做参考。
市净率
=总市值/净资产。市净率估值法多用于盈利波动较大而净资产相对稳定的公司。
市销率
=总市值/营业收入。市销率估值法通常用于亏损或微利的成长型公司。
文中市盈率和市销率采用TTM方式,即以截至最近一期财报(含预报)12个月的数据计算。市净率采用LF方式,即以最近一期财报数据计算。
市盈率为负时,不显示当期分位数,会导致折线图中断。