康盛股份:2024年第一季度净利润234.86万元 同比下降66.02%

中证智能财讯 康盛股份(002418)4月26日披露2024年一季报。2024年第一季度,公司实现营业总收入5.52亿元,同比增长9.10%;归母净利润234.86万元,同比下降66.02%;扣非净利润64.42万元,同比下降79.84%;经营活动产生的现金流量净额为1905.97万元,同比下降57.06%;报告期内,康盛股份基本每股收益为0.0021元,加权平均净资产收益率为0.15%。

2024年第一季度,公司毛利率为9.74%,同比下降0.03个百分点;净利率为0.41%,较上年同期下降0.94个百分点。

数据显示,2024年第一季度公司加权平均净资产收益率为0.15%,较上年同期下降0.30个百分点;公司2024年第一季度投入资本回报率为0.34%,较上年同期下降0.35个百分点。

2024年第一季度,公司经营活动现金流净额为1905.97万元,同比下降57.06%;筹资活动现金流净额-2281.22万元,同比增加1389.39万元;投资活动现金流净额-1458.13万元,上年同期为-1408.75万元。

2024年第一季度,公司营业收入现金比为77.70%,净现比为811.52%。

资产重大变化方面,截至2024年一季度末,公司货币资金较上年末减少26.23%,占公司总资产比重下降1.17个百分点;应收票据较上年末减少21.99%,占公司总资产比重下降1.02个百分点;固定资产较上年末增加1.76%,占公司总资产比重上升0.82个百分点;存货较上年末增加5.61%,占公司总资产比重上升0.72个百分点。

负债重大变化方面,截至2024年一季度末,公司短期借款较上年末减少12.22%,占公司总资产比重下降1.39个百分点;应付票据较上年末减少41.93%,占公司总资产比重下降0.58个百分点;应付职工薪酬较上年末减少30.90%,占公司总资产比重下降0.46个百分点;应付账款较上年末减少2.49%,占公司总资产比重上升0.08个百分点。

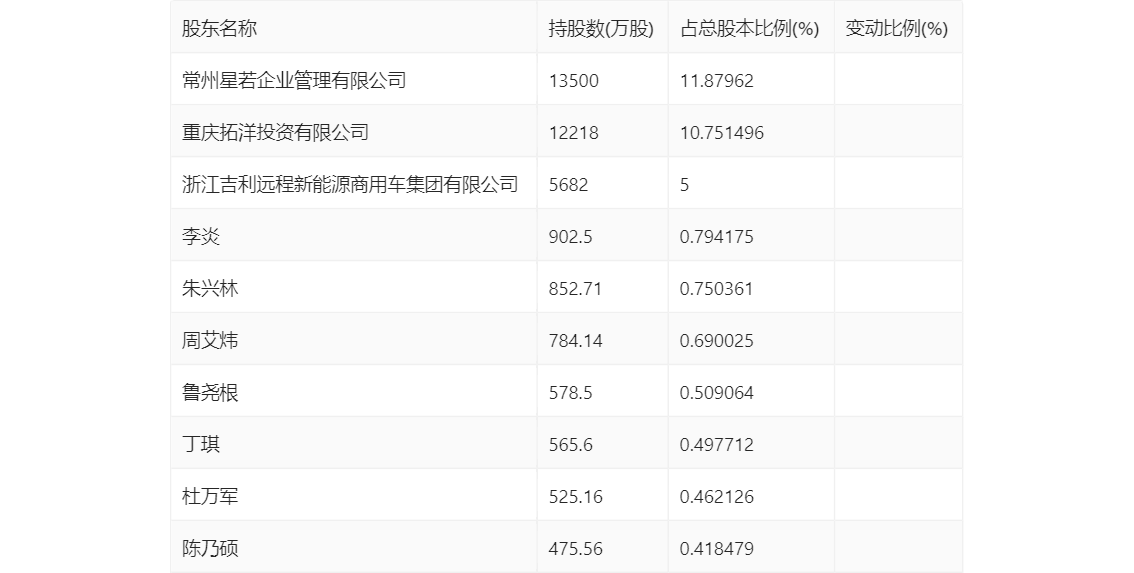
一季报显示,2024年一季度末公司十大流通股东中,新进股东为李炎、丁琪、杜万军、陈乃硕,取代了上年末的徐晟、李洪祥、陈爱萍、刘森林。在具体持股比例上,朱兴林、周艾炜持股有所上升。

筹码集中度方面,截至2024年一季度末,公司股东总户数为5.78万户,较上年末增长了8665户,增幅17.64%;户均持股市值由上年末的6.46万元下降至5.63万元,降幅为12.85%。
