贵州百灵:2024年第一季度净利润5169.51万元 同比下降44.00%

中证智能财讯 贵州百灵(002424)4月30日披露2024年一季报。2024年第一季度,公司实现营业总收入13.33亿元,同比增长22.09%;归母净利润5169.51万元,同比下降44.00%;扣非净利润4460.57万元,同比下降49.57%;经营活动产生的现金流量净额为-2.55亿元,上年同期为-5787.14万元;报告期内,贵州百灵基本每股收益为0.04元,加权平均净资产收益率为1.47%。


2024年第一季度,公司毛利率为63.84%,同比上升3.64个百分点;净利率为3.83%,较上年同期下降4.58个百分点。

数据显示,2024年第一季度公司加权平均净资产收益率为1.47%,较上年同期下降0.82个百分点;公司2024年第一季度投入资本回报率为1.27%,较上年同期下降0.69个百分点。

2024年第一季度,公司经营活动现金流净额为-2.55亿元,同比减少1.97亿元,主要系报告期内销售商品、提供劳务收到的现金同比减少所致;筹资活动现金流净额1.52亿元,同比增加1.68亿元;投资活动现金流净额-1359.86万元,上年同期为1780.65万元,主要系报告期收到其他与投资活动有关的现金同比减少所致。

2024年第一季度,公司营业收入现金比为58.77%,净现比为-492.63%。

资产重大变化方面,截至2024年一季度末,公司应收账款较上年末增加38.05%,占公司总资产比重上升7.11个百分点;应收款项融资较上年末减少43.50%,占公司总资产比重下降3.00个百分点;货币资金较上年末减少28.48%,占公司总资产比重下降1.85个百分点;长期股权投资较上年末减少0.78%,占公司总资产比重下降0.95个百分点。

负债重大变化方面,截至2024年一季度末,公司其他应付款(含利息和股利)较上年末增加36.84%,占公司总资产比重上升3.40个百分点;短期借款较上年末增加11.31%,占公司总资产比重上升0.97个百分点;一年内到期的非流动负债较上年末增加371.21%,占公司总资产比重上升1.80个百分点;应交税费较上年末增加98.40%,占公司总资产比重上升0.63个百分点。

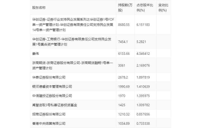
一季报显示,2024年一季度末公司十大流通股东中,持股最多的为华创证券-证券行业支持民企发展系列之华创证券1号FOF单一资产管理计划-华创证券有限责任公司支持民企发展14号单一资产管理计划,占比6.15%。十大流通股东名单相比2023年年报维持不变。在具体持股比例上,华创证券-证券行业支持民企发展系列之华创证券1号FOF单一资产管理计划-华创证券有限责任公司支持民企发展14号单一资产管理计划、姜伟、招商证券股份有限公司持股有所上升,华泰证券股份有限公司、银河德睿资本管理有限公司、中信建投证券股份有限公司、禹慧进取3号私募证券投资基金、香港中央结算有限公司持股有所下降。

筹码集中度方面,截至2024年一季度末,公司股东总户数为10.64万户,较上年末下降了4865户,降幅4.37%;户均持股市值由上年末的10.28万元下降至9.87万元,降幅为3.99%。
