龙虎榜丨胜利精密今日涨停,上榜营业部席位合计净买入441.64万元

http://ddx.gubit.cn  2023-08-31 19:15  胜利精密(002426)公司分析

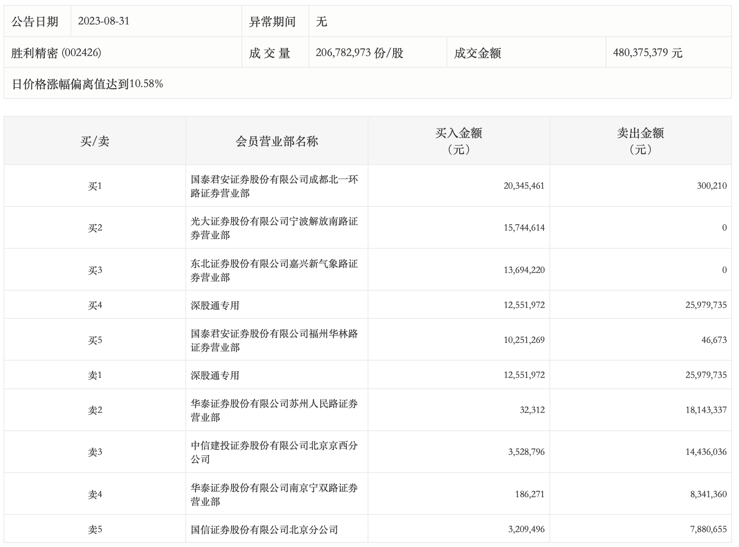
8月31日,胜利精密今日涨停,龙虎榜数据显示,上榜营业部席位全天成交1.55亿元,占当日总成交金额比例为32.2%。其中,买入金额为7954.44万元,卖出金额为7512.8万元,合计净买入441.64万元。

具体来看,国泰君安证券成都北一环路证券营业部、光大证券宁波解放南路证券营业部分别买入2034.55万元、1574.46万元;深股通专用、华泰证券苏州人民路证券营业部分别卖出2597.97万元、1814.33万元。