万里扬:2023年扣非净利润同比增长51.04% 拟10派3元

中证智能财讯 万里扬(002434)4月25日披露2023年年报。2023年,公司实现营业总收入59.13亿元,同比增长15.64%;归母净利润3.01亿元,同比增长0.33%;扣非净利润2.19亿元,同比增长51.04%;经营活动产生的现金流量净额为4.43亿元,同比下降17.62%;报告期内,万里扬基本每股收益为0.23元,加权平均净资产收益率为5.24%。公司2023年年度利润分配预案为:拟向全体股东每10股派3元(含税)。

以4月24日收盘价计算,万里扬目前市盈率(TTM)约为25.85倍,市净率(LF)约为1.32倍,市销率(TTM)约为1.32倍。

公司近年市盈率(TTM)、市净率(LF)、市销率(TTM)历史分位图如下所示:



数据统计显示,万里扬近三年营业总收入复合增长率为-0.84%,在底盘与发动机系统行业已披露2023年数据的68家公司中排名第57。近三年净利润复合年增长率为-21.28%,排名57/68。

分产品来看,2023年公司主营业务中,乘用车变速器收入44.34亿元,同比增长18.40%,占营业收入的74.99%;商用车变速器收入9.30亿元,同比增长4.09%,占营业收入的15.73%;配件收入2.12亿元,同比下降11.85%,占营业收入的3.58%。

截至2023年末,公司员工总数为3368人,人均创收175.56万元,人均创利8.94万元,人均薪酬14.80万元,较上年同期分别增长20.86%、4.86%、8.07%。

2023年,公司毛利率为17.74%,同比上升0.60个百分点;净利率为4.97%,较上年同期下降0.90个百分点。从单季度指标来看,2023年第四季度公司毛利率为17.03%,同比下降0.01个百分点,环比上升1.81个百分点;净利率为-1.00%,较上年同期下降3.29个百分点,较上一季度下降5.29个百分点。

分产品看,乘用车变速器、商用车变速器2023年毛利率分别为18.54%、12.03%。

报告期内,公司前五大客户合计销售金额46.06亿元,占总销售金额比例为77.90%,公司前五名供应商合计采购金额13.03亿元,占年度采购总额比例为29.38%。


数据显示,2023年公司加权平均净资产收益率为5.24%,较上年同期下降0.27个百分点;公司2023年投入资本回报率为4.48%,较上年同期下降0.33个百分点。

2023年,公司经营活动现金流净额为4.43亿元,同比下降17.62%;筹资活动现金流净额1.83亿元,同比增加5.85亿元;投资活动现金流净额-5.25亿元,上年同期为-2.58亿元。
进一步统计发现,2023年公司自由现金流为6.78亿元,相比上年同期增长89.09%。

2023年,公司营业收入现金比为74.73%,净现比为147.24%。

营运能力方面,2023年,公司公司总资产周转率为0.57次,上年同期为0.51次(2022年行业平均值为0.56次,公司位居同行业57/98);固定资产周转率为2.20次,上年同期为1.91次(2022年行业平均值为2.48次,公司位居同行业61/98);公司应收账款周转率、存货周转率分别为3.95次、5.22次。

2023年,公司期间费用为7.01亿元,较上年同期增加1692.76万元;但期间费用率为11.86%,较上年同期下降1.52个百分点。其中,销售费用同比下降9.99%,管理费用同比增长14.54%,研发费用同比增长4.58%,财务费用同比下降6.09%。

资产重大变化方面,截至2023年年末,公司应收票据较上年末减少83.44%,占公司总资产比重下降8.45个百分点;在建工程较上年末增加112.07%,占公司总资产比重上升3.43个百分点;应收款项融资较上年末增加239.81%,占公司总资产比重上升2.26个百分点;货币资金较上年末增加35.48%,占公司总资产比重上升1.84个百分点。

负债重大变化方面,截至2023年年末,公司应付票据较上年末减少26.96%,占公司总资产比重下降3.60个百分点;应付账款较上年末增加23.19%,占公司总资产比重上升1.92个百分点;一年内到期的非流动负债较上年末增加6895.38%,占公司总资产比重上升2.21个百分点;长期借款较上年末增加54.60%,占公司总资产比重上升0.90个百分点。

从存货变动来看,截至2023年年末,公司存货账面价值为9.8亿元,占净资产的16.63%,较上年末增加9752.3万元。其中,存货跌价准备为1185.4万元,计提比例为1.19%。

2023年全年,公司研发投入金额为3.58亿元,同比下降2.90%;研发投入占营业收入比例为6.05%,相比上年同期下降1.16个百分点。此外,公司全年研发投入资本化率为2.61%。

在偿债能力方面,公司2023年年末资产负债率为44.75%,相比上年末上升0.26个百分点;有息资产负债率为17.45%,相比上年末上升1.69个百分点。

2023年,公司流动比率为1.12,速动比率为0.88。

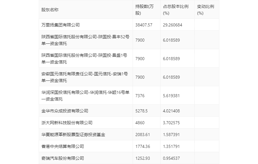
年报显示,2023年年末公司十大流通股东中,持股最多的为万里扬集团有限公司,占比29.26%。十大流通股东名单相比2023年三季报维持不变。在具体持股比例上,华夏能源革新股票型证券投资基金、香港中央结算有限公司持股有所下降。

值得注意的是,根据年报数据,万里扬16.17%股份处于质押状态。其中,第一大股东万里扬集团有限公司质押1.99亿股公司股份,占其全部持股的51.88%。
筹码集中度方面,截至2023年年末,公司股东总户数为3.03万户,较三季度末增长了1357户,增幅4.68%;户均持股市值由三季度末的39.05万元下降至32.24万元,降幅为17.44%。

指标注解:
市盈率
=总市值/净利润。当公司亏损时市盈率为负,此时用市盈率估值没有实际意义,往往用市净率或市销率做参考。
市净率
=总市值/净资产。市净率估值法多用于盈利波动较大而净资产相对稳定的公司。
市销率
=总市值/营业收入。市销率估值法通常用于亏损或微利的成长型公司。
文中市盈率和市销率采用TTM方式,即以截至最近一期财报(含预报)12个月的数据计算。市净率采用LF方式,即以最近一期财报数据计算。
市盈率为负时,不显示当期分位数,会导致折线图中断。