万里扬:2024年上半年净利润1.84亿元 同比下降26.65%

中证智能财讯 万里扬(002434)8月23日披露2024年半年度报告。2024年上半年,公司实现营业收入27.38亿元,同比增长6.13%;归母净利润1.84亿元,同比下降26.65%;扣非净利润1.72亿元,同比下降11.45%;经营活动产生的现金流量净额为9047.55万元,同比下降77.77%;报告期内,万里扬基本每股收益为0.14元,加权平均净资产收益率为3.08%。

以8月22日收盘价计算,万里扬目前市盈率(TTM)约为25.72倍,市净率(LF)约为1.06倍,市销率(TTM)约为0.99倍。

公司近年市盈率(TTM)、市净率(LF)、市销率(TTM)历史分位图如下所示:



根据半年报,公司第二季度实现营业总收入15.2亿元,同比增长8.20%,环比增长24.85%;归母净利润9361.36万元,同比下降21.06%,环比增长3.49%;扣非净利润8305.11万元,同比下降10.25%,环比下降6.18%。

资料显示,公司从事的主要业务为汽车零部件业务和新型储能业务。
分产品来看,2024年上半年公司主营业务中,汽车变速器及配件收入23.93亿元,同比下降4.67%,占营业收入的87.39%;储能和电力交易业务收入0.65亿元,同比增长405.64%,占营业收入的2.37%;融资租赁业务收入0.12亿元,同比下降14.47%,占营业收入的0.44%。

2024年上半年,公司毛利率为18.26%,同比下降1.46个百分点;净利率为6.92%,较上年同期下降2.64个百分点。从单季度指标来看,2024年第二季度公司毛利率为18.12%,同比下降0.87个百分点,环比下降0.32个百分点;净利率为6.70%,较上年同期下降1.57个百分点,较上一季度下降0.50个百分点。

数据显示,2024年上半年公司加权平均净资产收益率为3.08%,较上年同期下降1.31个百分点;公司2024年上半年投入资本回报率为2.71%,较上年同期下降0.95个百分点。

2024年上半年,公司经营活动现金流净额为9047.55万元,同比下降77.77%,主要系报告期公司购买商品支付的现金同比增加较多所致;筹资活动现金流净额4205.46万元,同比增加1.82亿元,主要系报告期公司银行借款同比增加较多所致;投资活动现金流净额-2.98亿元,上年同期为-2.12亿元,主要系报告期公司购买设备等支付的现金同比增加较多所致。
进一步统计发现,2024年上半年公司自由现金流为-2.07亿元,上年同期为2.65亿元。

2024年上半年,公司营业收入现金比为94.98%,净现比为49.15%。

营运能力方面,2024年上半年,公司公司总资产周转率为0.25次,上年同期为0.26次(2023年上半年行业平均值为0.28次,公司位居同行业64/99);固定资产周转率为1.00次,上年同期为0.99次(2023年上半年行业平均值为1.29次,公司位居同行业60/99);公司应收账款周转率、存货周转率分别为1.72次、1.97次。

2024年上半年,公司期间费用为3.10亿元,较上年同期增加3329.75万元;期间费用率为11.32%,较上年同期上升0.59个百分点。其中,销售费用同比增长59.39%,管理费用同比增长20.11%,研发费用同比下降9.5%,财务费用同比增长32.11%。
资料显示,销售费用的变动主要因为报告期公司售电咨询服务费和海外业务销售服务费同比增加;财务费用的变动主要因为报告期公司银行借款同比增加,导致相应的利息支出增加。

资产重大变化方面,截至2024年上半年末,公司存货较上年末增加31.85%,占公司总资产比重上升2.86个百分点;货币资金较上年末减少25.66%,占公司总资产比重下降2.23个百分点;应收款项融资较上年末减少37.52%,占公司总资产比重下降1.24个百分点;其他流动资产较上年末增加58.14%,占公司总资产比重上升1.21个百分点。

负债重大变化方面,截至2024年上半年末,公司长期借款较上年末增加146.81%,占公司总资产比重上升4.20个百分点;一年内到期的非流动负债较上年末减少78.36%,占公司总资产比重下降1.76个百分点;应付账款较上年末减少6.26%,占公司总资产比重下降0.93个百分点;短期借款较上年末增加7.13%,占公司总资产比重上升0.84个百分点。

从存货变动来看,截至2024年上半年末,公司存货账面价值为12.93亿元,占净资产的22.74%,较上年末增加3.12亿元。其中,存货跌价准备为1185.4万元,计提比例为0.91%。

在偿债能力方面,公司2024年上半年末资产负债率为46.75%,相比上年末上升2.00个百分点;有息资产负债率为20.73%,相比上年末上升3.28个百分点。

2024年上半年,公司流动比率为1.17,速动比率为0.85。

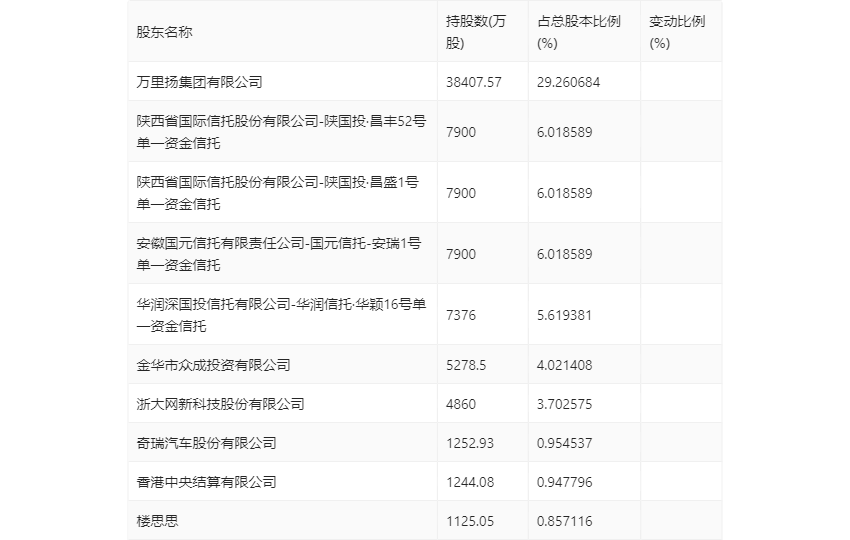
半年报显示,2024年上半年末公司十大流通股东中,新进股东为楼思思,取代了一季度末的香港利邦实业有限公司。在具体持股比例上,香港中央结算有限公司持股有所下降。

值得注意的是,根据半年报数据,万里扬15.18%股份处于质押状态。其中,第一大股东万里扬集团有限公司质押1.99亿股公司股份,占其全部持股的51.88%。
筹码集中度方面,截至2024年上半年末,公司股东总户数为3.28万户,较一季度末下降了242户,降幅0.73%;户均持股市值由一季度末的25.11万元下降至19.62万元,降幅为21.86%。

指标注解:
市盈率
=总市值/净利润。当公司亏损时市盈率为负,此时用市盈率估值没有实际意义,往往用市净率或市销率做参考。
市净率
=总市值/净资产。市净率估值法多用于盈利波动较大而净资产相对稳定的公司。
市销率
=总市值/营业收入。市销率估值法通常用于亏损或微利的成长型公司。
文中市盈率和市销率采用TTM方式,即以截至最近一期财报(含预报)12个月的数据计算。市净率采用LF方式,即以最近一期财报数据计算。
市盈率为负时,不显示当期分位数,会导致折线图中断。