兴森科技:2024年上半年净利润1950.10万元 同比增长7.99%

中证智能财讯 兴森科技(002436)8月28日披露2024年半年度报告。2024年上半年,公司实现营业收入28.81亿元,同比增长12.29%;归母净利润1950.1万元,同比增长7.99%;扣非净利润2876.26万元,同比增长353.13%;经营活动产生的现金流量净额为2.33亿元,同比增长110.35%;报告期内,兴森科技基本每股收益为0.01元,加权平均净资产收益率为0.37%。
报告期内,公司合计非经常性损益为-926.16万元,其中计入当期损益的政府补助为411.33万元,所得税影响额为176.67万元,除同公司正常经营业务相关的有效套期保值业务外,非金融企业持有金融资产和金融负债产生的公允价值变动损益以及处置金融资产和金融负债产生的损益为-986.48万元。

以8月27日收盘价计算,兴森科技目前市盈率(TTM)约为70.32倍,市净率(LF)约为2.87倍,市销率(TTM)约为2.63倍。

公司近年市盈率(TTM)、市净率(LF)、市销率(TTM)历史分位图如下所示:



根据半年报,公司第二季度实现营业总收入14.93亿元,同比增长13.59%,环比增长7.50%;归母净利润-532.17万元,同比下降150.42%,环比下降121.44%;扣非净利润483.6万元,同比下降10.90%,环比下降79.79%。

资料显示,公司专注于先进电子电路方案产业,围绕传统PCB业务和半导体业务两大主线开展。
2024年上半年,公司毛利率为16.56%,同比下降8.63个百分点;净利率为-3.07%,较上年同期下降3.14个百分点。从单季度指标来看,2024年第二季度公司毛利率为16.09%,同比下降10.08个百分点,环比下降0.98个百分点;净利率为-4.10%,较上年同期下降4.41个百分点,较上一季度下降2.13个百分点。

数据显示,2024年上半年公司加权平均净资产收益率为0.37%,较上年同期增长0.09个百分点;公司2024年上半年投入资本回报率为-0.97%,较上年同期下降1.05个百分点。

2024年上半年,公司经营活动现金流净额为2.33亿元,同比增长110.35%,主要系本报告期收取客户货款增加所致;筹资活动现金流净额-2.66亿元,同比减少18.42亿元,主要系本报告期取得借款收到的现金减少和支付广州兴科少数股东的部分股权收购款所致;投资活动现金流净额-7.93亿元,上年同期为-16.47亿元,主要系上报告期将股权收购款存放于监管账户所致。
进一步统计发现,2024年上半年公司自由现金流为-9.62亿元,上年同期为-5.20亿元。

2024年上半年,公司营业收入现金比为107.64%,净现比为1194.98%。

营运能力方面,2024年上半年,公司公司总资产周转率为0.19次,上年同期为0.20次(2023年上半年行业平均值为0.27次,公司位居同行业35/42);固定资产周转率为0.52次,上年同期为0.92次(2023年上半年行业平均值为0.88次,公司位居同行业18/42);公司应收账款周转率、存货周转率分别为1.50次、3.80次。

2024年上半年,公司期间费用为5.74亿元,较上年同期减少7016.80万元;期间费用率为19.91%,较上年同期下降5.18个百分点。其中,销售费用同比下降2.67%,管理费用同比下降0.07%,研发费用同比下降30.67%,财务费用同比增长29.45%。

资产重大变化方面,截至2024年上半年末,公司固定资产较上年末增加29.31%,占公司总资产比重上升10.38个百分点;在建工程较上年末减少76.28%,占公司总资产比重下降8.34个百分点;货币资金较上年末减少39.83%,占公司总资产比重下降5.57个百分点;交易性金融资产较上年末增加104.91%,占公司总资产比重上升1.53个百分点。

负债重大变化方面,截至2024年上半年末,公司长期借款较上年末增加11.10%,占公司总资产比重上升2.62个百分点;短期借款较上年末减少57.60%,占公司总资产比重下降1.67个百分点;其他应付款(含利息和股利)较上年末减少38.36%,占公司总资产比重下降1.33个百分点;一年内到期的非流动负债较上年末增加19.95%,占公司总资产比重上升1.06个百分点。

从存货变动来看,截至2024年上半年末,公司存货账面价值为6.31亿元,占净资产的12.14%,较上年末减少140.3万元。其中,存货跌价准备为6618.11万元,计提比例为9.49%。

在偿债能力方面,公司2024年上半年末资产负债率为58.64%,相比上年末上升0.87个百分点;有息资产负债率为31.09%,相比上年末上升2.07个百分点。

2024年上半年,公司流动比率为1.46,速动比率为1.28。

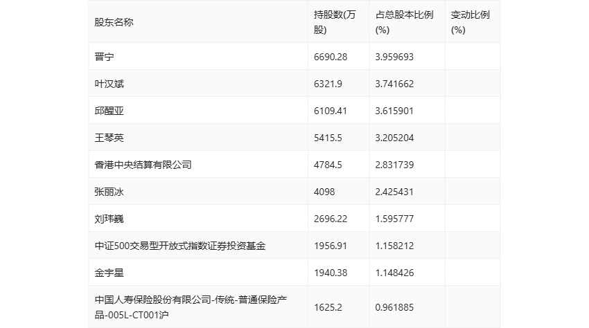
半年报显示,2024年上半年末公司十大流通股东中,新进股东为中证500交易型开放式指数证券投资基金、中国人寿保险股份有限公司-传统-普通保险产品-005L-CT001沪,取代了一季度末的兴全趋势投资混合型证券投资基金、交银施罗德数据产业灵活配置混合型证券投资基金、景顺长城策略精选灵活配置混合型证券投资基金。在具体持股比例上,张丽冰、刘玮巍持股有所上升,香港中央结算有限公司、金宇星持股有所下降。

筹码集中度方面,截至2024年上半年末,公司股东总户数为8.7万户,较一季度末增长了1.58万户,增幅22.13%;户均持股市值由一季度末的29.13万元下降至20.04万元,降幅为31.20%。

指标注解:
市盈率
=总市值/净利润。当公司亏损时市盈率为负,此时用市盈率估值没有实际意义,往往用市净率或市销率做参考。
市净率
=总市值/净资产。市净率估值法多用于盈利波动较大而净资产相对稳定的公司。
市销率
=总市值/营业收入。市销率估值法通常用于亏损或微利的成长型公司。
文中市盈率和市销率采用TTM方式,即以截至最近一期财报(含预报)12个月的数据计算。市净率采用LF方式,即以最近一期财报数据计算。
市盈率为负时,不显示当期分位数,会导致折线图中断。