龙星化工:2024年第一季度净利润2719.51万元 同比增长113.52%

中证智能财讯 龙星化工(002442)4月30日披露2024年一季报。2024年第一季度,公司实现营业总收入10.01亿元,同比下降10.62%;归母净利润2719.51万元,同比增长113.52%;扣非净利润2697.20万元,同比增长117.67%;经营活动产生的现金流量净额为-1.32亿元,上年同期为-1.67亿元;报告期内,龙星化工基本每股收益为0.0558元,加权平均净资产收益率为1.57%。


2024年第一季度,公司毛利率为10.42%,同比上升2.95个百分点;净利率为2.72%,较上年同期上升1.58个百分点。

数据显示,2024年第一季度公司加权平均净资产收益率为1.57%,较上年同期增长0.77个百分点;公司2024年第一季度投入资本回报率为1.06%,较上年同期增长0.26个百分点。

2024年第一季度,公司经营活动现金流净额为-1.32亿元,同比增加3471.23万元;筹资活动现金流净额8.12亿元,同比增加6.54亿元;投资活动现金流净额-3.75亿元,上年同期为-1068.3万元。


资产重大变化方面,截至2024年一季度末,公司应收账款较上年末减少0.53%,占公司总资产比重下降4.43个百分点;固定资产较上年末减少1.98%,占公司总资产比重下降4.04个百分点;应收款项融资较上年末增加47.02%,占公司总资产比重上升3.17个百分点;货币资金较上年末增加52.15%,占公司总资产比重上升2.57个百分点。

负债重大变化方面,截至2024年一季度末,公司长期借款较上年末增加71.59%,占公司总资产比重上升3.96个百分点;应付票据较上年末减少56.61%,占公司总资产比重下降4.25个百分点;一年内到期的非流动负债较上年末减少30.04%,占公司总资产比重下降3.40个百分点;应付账款较上年末增加26.20%,占公司总资产比重上升0.16个百分点。

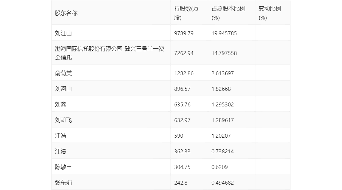
一季报显示,2024年一季度末公司十大流通股东中,新进股东为江浩,取代了上年末的苏颜翔。在具体持股比例上,俞菊美、江漫、陈敬丰、张东娟持股有所上升。

筹码集中度方面,截至2024年一季度末,公司股东总户数为3.64万户,较上年末下降了2.96万户,降幅44.87%;户均持股市值由上年末的5.11万元上升至6.49万元,增幅为27.01%。
