中南文化:2024年第一季度亏损1959.58万元

中证智能财讯 中南文化(002445)4月30日披露2024年一季报。2024年第一季度,公司实现营业总收入1.80亿元,同比增长43.70%;归母净利润亏损1959.58万元,上年同期盈利6131.12万元;扣非净利润1721.01万元,同比增长19.95%;经营活动产生的现金流量净额为2005.00万元,上年同期为-2181.69万元;报告期内,中南文化基本每股收益为-0.01元,加权平均净资产收益率为-0.91%。


2024年第一季度,公司毛利率为23.24%,同比上升2.85个百分点;净利率为-10.91%,较上年同期下降59.90个百分点。

数据显示,2024年第一季度公司加权平均净资产收益率为-0.91%,较上年同期下降4.04个百分点;公司2024年第一季度投入资本回报率为-0.89%,较上年同期下降3.88个百分点。

2024年第一季度,公司经营活动现金流净额为2005.00万元,同比增加4186.69万元;筹资活动现金流净额2311.31万元,同比减少7666.19万元;投资活动现金流净额1975.70万元,上年同期为-4895.15万元。

2024年第一季度,公司营业收入现金比为109.32%,净现比为-102.32%。

资产重大变化方面,截至2024年一季度末,公司货币资金较上年末增加90.12%,占公司总资产比重上升2.43个百分点;其他非流动金融资产较上年末减少16.04%,占公司总资产比重下降1.71个百分点;应收款项融资较上年末减少84.05%,占公司总资产比重下降1.43个百分点;在建工程较上年末增加357.97%,占公司总资产比重上升1.31个百分点。

负债重大变化方面,截至2024年一季度末,公司合同负债较上年末减少22.00%,占公司总资产比重下降0.98个百分点;长期借款较上年末增加149.81%,占公司总资产比重上升0.87个百分点;其他应付款(含利息和股利)较上年末减少40.15%,占公司总资产比重下降0.67个百分点;应付职工薪酬较上年末减少48.62%,占公司总资产比重下降0.52个百分点。

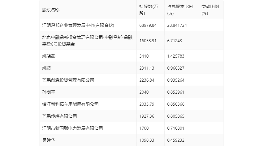
一季报显示,2024年一季度末公司十大流通股东中,新进股东为吴建华,取代了上年末的香港中央结算有限公司。在具体持股比例上,姚波持股有所上升,孙剑平持股有所下降。

筹码集中度方面,截至2024年一季度末,公司股东总户数为5.58万户,较上年末下降了1.26万户,降幅18.42%;户均持股市值由上年末的8.28万元上升至9.34万元,增幅为12.80%。
