查股网.CN
首页
选股
热点
资金
板块
大盘
DDX
游资
龙虎
导航
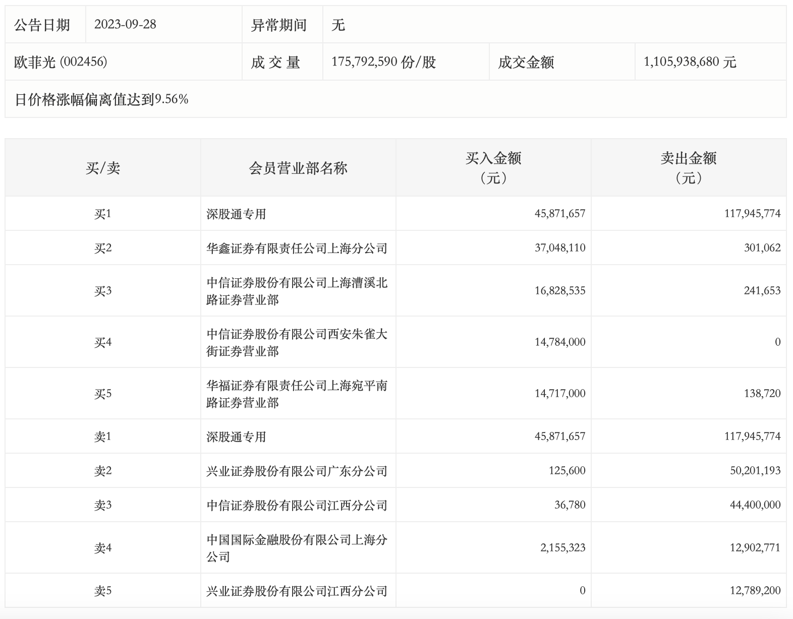
龙虎榜丨欧菲光今日涨停,深股通买入4587.17万元并卖出1.18亿元
龙虎榜丨欧菲光今日涨停,深股通买入4587.17万元并卖出1.18亿元
http://ddx.gubit.cn
2023-09-28 16:36
欧菲光(002456)公司分析
9月28日,
欧菲光
今日涨停,成交额11.06亿元,换手率5.43%,盘后龙虎榜数据显示,深股通专用席位买入4587.17万元并卖出1.18亿元。