龙虎榜丨欧菲光今日涨停,作手新一近2日净买入5662.62万元

http://ddx.gubit.cn  2023-10-11 16:53  欧菲光(002456)公司分析

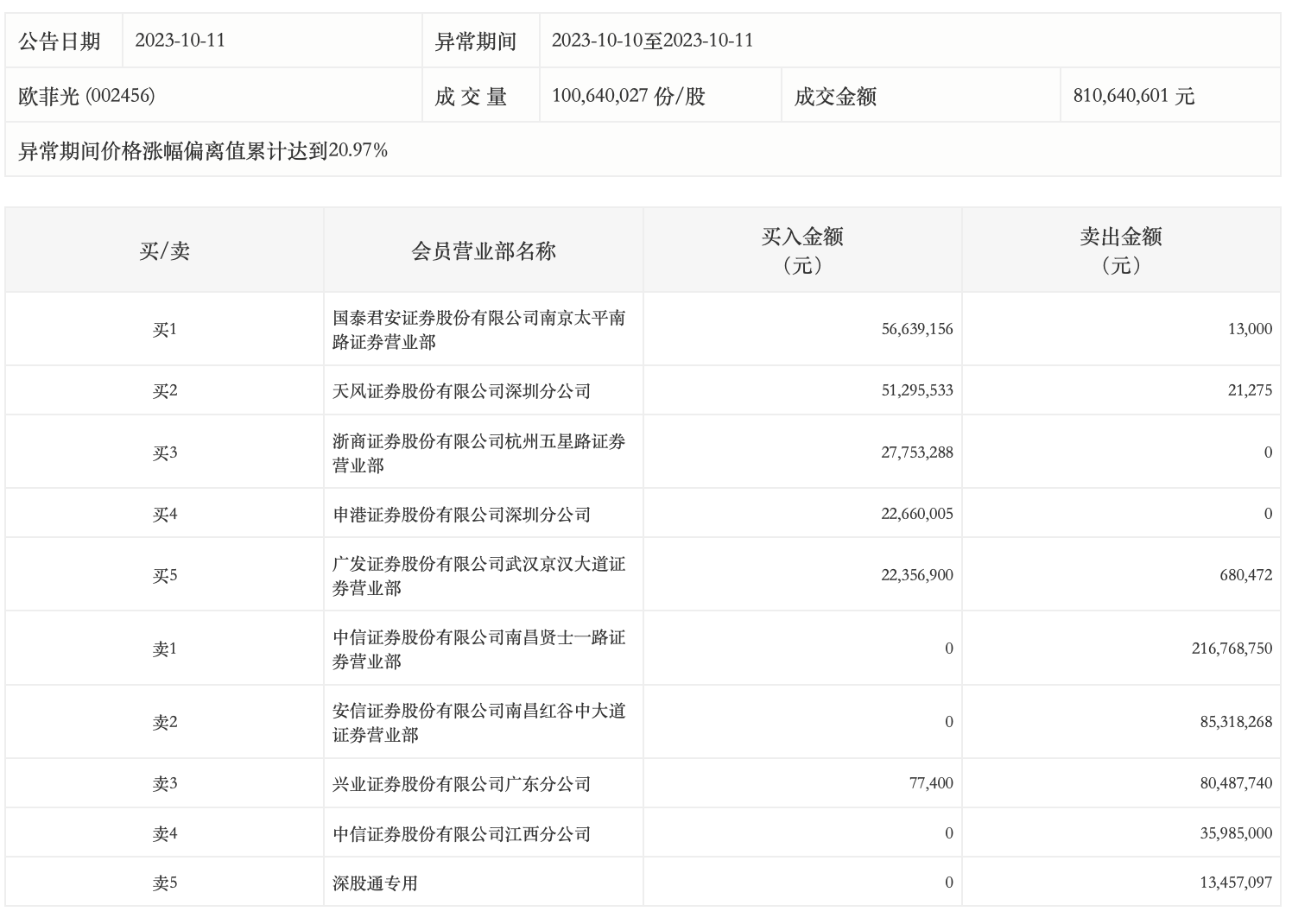
10月11日,欧菲光今日涨停,全天换手率达1.27%,振幅达0%。龙虎榜数据显示,10月10日至10月11日期间,上榜营业部席位合计净卖出2.52亿元。其中,作手新一(国泰君安证券南京太平南路证券营业部)、天风证券深圳分公司分别买入5663.92万元、5129.55万元;中信证券南昌贤士一路证券营业部、安信证券南昌红谷中大道证券营业部分别卖出2.17亿元、8531.83万元。