欧菲光:2023年盈利7690.50万元 同比扭亏

中证智能财讯 欧菲光(002456)4月20日披露2023年年报。2023年,公司实现营业总收入168.63亿元,同比增长13.73%;归母净利润7690.50万元,同比扭亏;扣非净利润亏损2.93亿元,上年同期亏损49.72亿元;经营活动产生的现金流量净额为-4.95亿元,上年同期为18.42亿元;报告期内,欧菲光基本每股收益为0.0236元,加权平均净资产收益率为2.32%。


以4月19日收盘价计算,欧菲光目前市盈率(TTM)约为385.49倍,市净率(LF)约为8.71倍,市销率(TTM)约为1.76倍。

公司近年市盈率(TTM)、市净率(LF)、市销率(TTM)历史分位图如下所示:



数据统计显示,欧菲光近三年营业总收入复合增长率为-29.61%,在光学元件行业已披露2023年数据的10家公司中排名第10。近三年净利润复合年增长率为26.82%,排名2/10。

分产品来看,2023年公司主营业务中,国内销售收入147.97亿元,同比增长21.68%,占营业收入的87.75%;智能手机产品收入122.53亿元,同比增长6.69%,占营业收入的72.66%;新领域产品收入24.08亿元,同比增长43.06%,占营业收入的14.28%。

2023年,公司毛利率为10.02%,同比上升10.12个百分点;净利率为0.44%,较上年同期上升38.85个百分点。从单季度指标来看,2023年第四季度公司毛利率为14.12%,同比上升17.67个百分点,环比上升2.35个百分点;净利率为7.28%,较上年同期上升59.33个百分点,较上一季度上升5.48个百分点。

分产品看,智能手机产品、新领域产品、智能汽车产品2023年毛利率分别为8.47%、14.06%、14.85%。
数据显示,2023年公司加权平均净资产收益率为2.32%,较上年同期增长90.92个百分点;公司2023年投入资本回报率为1.98%,较上年同期增长36.84个百分点。

2023年,公司经营活动现金流净额为-4.95亿元,同比减少23.37亿元;筹资活动现金流净额-10.79亿元,同比增加8.88亿元;投资活动现金流净额-6334.06万元,上年同期为-6.25亿元。
进一步统计发现,2023年公司自由现金流为-4.85亿元,上年同期为-2.70亿元。

2023年,公司营业收入现金比为88.78%,净现比为-643.26%。

营运能力方面,2023年,公司公司总资产周转率为0.88次,上年同期为0.69次(2022年行业平均值为0.49次,公司位居同行业7/23);固定资产周转率为4.67次,上年同期为3.33次(2022年行业平均值为2.02次,公司位居同行业7/23);公司应收账款周转率、存货周转率分别为3.34次、6.41次。

2023年,公司期间费用为19.23亿元,较上年同期减少7.80亿元;期间费用率为11.40%,较上年同期下降6.83个百分点。其中,销售费用同比增长14.85%,管理费用同比下降26.46%,研发费用同比下降28.07%,财务费用同比下降44.56%。

资产重大变化方面,截至2023年年末,公司应收账款较上年末增加65.42%,占公司总资产比重上升10.82个百分点;货币资金较上年末减少51.41%,占公司总资产比重下降9.77个百分点;固定资产较上年末减少17.73%,占公司总资产比重下降5.26个百分点;其他应收款(含利息和股利)较上年末增加122.61%,占公司总资产比重上升3.26个百分点。

负债重大变化方面,截至2023年年末,公司应付账款较上年末增加44.23%,占公司总资产比重上升8.34个百分点;一年内到期的非流动负债较上年末减少13.08%,占公司总资产比重下降4.00个百分点;长期应付款合计较上年末增加124084.19%,占公司总资产比重上升2.27个百分点;长期借款较上年末减少23.26%,占公司总资产比重下降2.18个百分点。

2023年全年,公司研发投入金额为14.46亿元,同比下降14.91%;研发投入占营业收入比例为8.57%,相比上年同期下降2.89个百分点。此外,公司全年研发投入资本化率为36.68%。


在偿债能力方面,公司2023年年末资产负债率为79.01%,相比上年末上升0.77个百分点;有息资产负债率为34.25%,相比上年末下降8.08个百分点。

2023年,公司流动比率为0.89,速动比率为0.70。

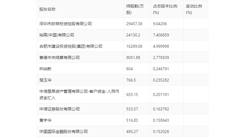
年报显示,2023年年末公司十大流通股东中,新进股东为林纳新、楚玉华、中信里昂资产管理有限公司-客户资金-人民币资金汇入、中信证券股份有限公司、黄宇华、中国国际金融股份有限公司,取代了三季度末的南昌市国金工业投资有限公司、合肥合屏投资有限公司、共青城安芯投资合伙企业(有限合伙)、广东恒阔投资管理有限公司、赣江新区创新产业投资有限公司、广东恒健资产管理有限公司-广东恒会股权投资基金(有限合伙)。在具体持股比例上,香港中央结算有限公司持股有所上升,深圳市欧菲投资控股有限公司、裕高(中国)有限公司、合肥市建设投资控股(集团)有限公司持股有所下降。

值得注意的是,根据年报数据,欧菲光12.66%股份处于质押状态。其中,第一大股东深圳市欧菲投资控股有限公司质押2.26亿股公司股份,占其全部持股的76.74%。
筹码集中度方面,截至2023年年末,公司股东总户数为37.76万户,较三季度末增长了14.28万户,增幅60.83%;户均持股市值由三季度末的8.88万元下降至7.51万元,降幅为15.43%。

指标注解:
市盈率
=总市值/净利润。当公司亏损时市盈率为负,此时用市盈率估值没有实际意义,往往用市净率或市销率做参考。
市净率
=总市值/净资产。市净率估值法多用于盈利波动较大而净资产相对稳定的公司。
市销率
=总市值/营业收入。市销率估值法通常用于亏损或微利的成长型公司。
文中市盈率和市销率采用TTM方式,即以截至最近一期财报(含预报)12个月的数据计算。市净率采用LF方式,即以最近一期财报数据计算。
市盈率为负时,不显示当期分位数,会导致折线图中断。