龙虎榜丨申通快递今日跌8.04%,深股通专用净卖出3670.38万元

http://ddx.gubit.cn  2023-08-21 20:35  申通快递(002468)公司分析

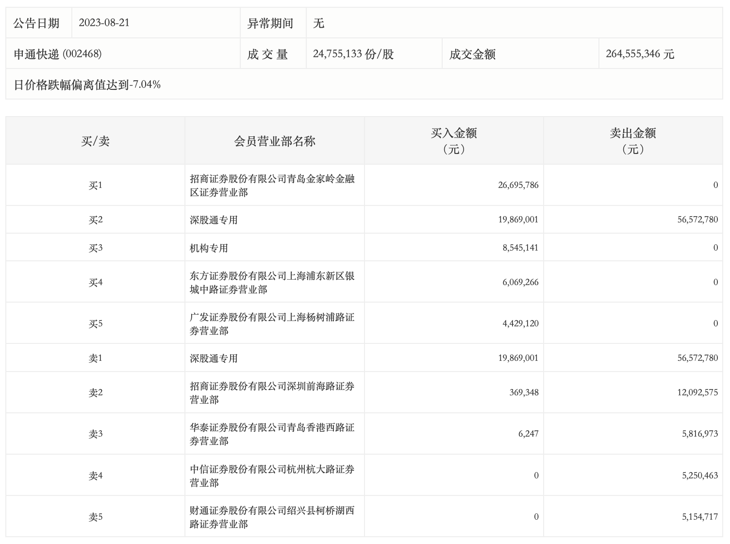
8月21日,申通快递今日跌8.04%,龙虎榜数据显示,上榜营业部席位全天成交1.51亿元,占当日总成交金额比例为57.03%。其中,买入金额为6598.39万元,卖出金额为8488.75万元,合计净卖出1890.36万元。

具体来看,机构合计净买入854.51万元。此外,深股通专用、招商证券深圳前海路证券营业部分别卖出5657.28万元、1209.26万元;招商证券青岛金家岭金融区证券营业部、深股通专用分别买入2669.58万元、1986.90万元。