常宝股份:2024年第一季度净利润1.66亿元 同比下降16.41%

中证智能财讯 常宝股份(002478)4月26日披露2024年一季报。2024年第一季度,公司实现营业总收入13.03亿元,同比下降28.48%;归母净利润1.66亿元,同比下降16.41%;扣非净利润1.23亿元,同比下降25.08%;经营活动产生的现金流量净额为-7319.15万元,上年同期为3.20亿元;报告期内,常宝股份基本每股收益为0.18元,加权平均净资产收益率为3.12%。

2024年第一季度,公司毛利率为16.27%,同比下降2.66个百分点;净利率为13.31%,较上年同期上升2.26个百分点。

数据显示,2024年第一季度公司加权平均净资产收益率为3.12%,较上年同期下降1.12个百分点;公司2024年第一季度投入资本回报率为2.85%,较上年同期下降0.99个百分点。

2024年第一季度,公司经营活动现金流净额为-7319.15万元,同比减少3.93亿元;筹资活动现金流净额-3189.94万元,同比减少7658.95万元;投资活动现金流净额1.37亿元,上年同期为1.08亿元。

2024年第一季度,公司营业收入现金比为94.32%,净现比为-44.09%。

资产重大变化方面,截至2024年一季度末,公司货币资金较上年末增加7.59%,占公司总资产比重上升1.24个百分点;交易性金融资产较上年末减少13.92%,占公司总资产比重下降1.13个百分点;在建工程较上年末增加109.65%,占公司总资产比重上升1.10个百分点;固定资产较上年末减少2.21%,占公司总资产比重下降1.04个百分点。

负债重大变化方面,截至2024年一季度末,公司其他流动负债较上年末减少15.98%,占公司总资产比重下降0.64个百分点;应付票据较上年末增加3.08%,占公司总资产比重上升0.22个百分点;应付职工薪酬较上年末减少78.57%,占公司总资产比重下降0.30个百分点;应交税费较上年末减少33.01%,占公司总资产比重下降0.29个百分点。

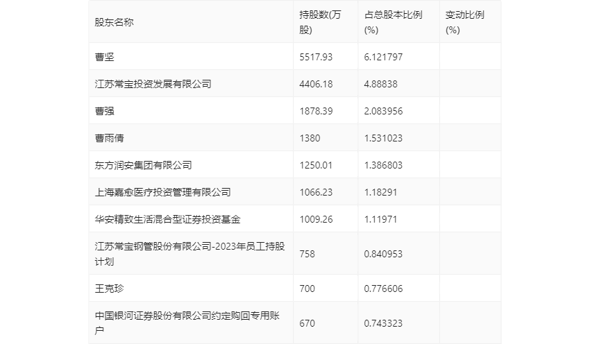
一季报显示,2024年一季度末公司十大流通股东中,新进股东为王克珍、中国银河证券股份有限公司约定购回专用账户,取代了上年末的香港中央结算有限公司、MORGAN STANLEY & CO. INTERNATIONAL PLC.。在具体持股比例上,曹坚、江苏常宝投资发展有限公司、曹强、曹雨倩、东方润安集团有限公司、华安精致生活混合型证券投资基金、江苏常宝钢管股份有限公司-2023年员工持股计划持股有所上升,上海嘉愈医疗投资管理有限公司持股有所下降。

筹码集中度方面,截至2024年一季度末,公司股东总户数为2.73万户,较上年末增长了1082户,增幅4.13%;户均持股市值由上年末的18.75万元上升至20.88万元,增幅为11.36%。
