常宝股份:2024年上半年净利润3.26亿元 同比下降27.60%

中证智能财讯 常宝股份(002478)8月23日披露2024年半年报。2024年上半年,公司实现营业总收入28.04亿元,同比下降18.93%;归母净利润3.26亿元,同比下降27.60%;扣非净利润2.56亿元,同比下降36.16%;经营活动产生的现金流量净额为1.20亿元,同比下降77.53%;报告期内,常宝股份基本每股收益为0.36元,加权平均净资产收益率为6.09%。

以8月22日收盘价计算,常宝股份目前市盈率(TTM)约为6.34倍,市净率(LF)约为0.78倍,市销率(TTM)约为0.69倍。

公司近年市盈率(TTM)、市净率(LF)、市销率(TTM)历史分位图如下所示:



根据半年报,公司第二季度实现营业总收入15.02亿元,同比下降8.31%,环比增长15.25%;归母净利润1.6亿元,同比下降36.43%,环比下降3.63%;扣非净利润1.33亿元,同比下降43.86%,环比增长7.73%。

分产品来看,2024年上半年公司主营业务中,油套管收入11.38亿元,同比下降40.80%,占营业收入的40.59%;锅炉管收入10.91亿元,同比增长19.77%,占营业收入的38.89%。

2024年上半年,公司毛利率为16.22%,同比下降1.93个百分点;净利率为12.16%,较上年同期下降1.09个百分点。从单季度指标来看,2024年第二季度公司毛利率为16.18%,同比下降1.11个百分点,环比下降0.09个百分点;净利率为11.16%,较上年同期下降4.53个百分点,较上一季度下降2.15个百分点。

分产品看,油套管、锅炉管2024年上半年毛利率分别为15.20%、21.48%。

数据显示,2024年上半年公司加权平均净资产收益率为6.09%,较上年同期下降3.36个百分点;公司2024年上半年投入资本回报率为5.68%,较上年同期下降2.96个百分点。

2024年上半年,公司经营活动现金流净额为1.20亿元,同比下降77.53%,主要系本期销售商品、提供劳务收到的现金减少所致;筹资活动现金流净额-2.46亿元,同比减少5287.28万元;投资活动现金流净额1.80亿元,上年同期为1.08亿元,主要系收回医院出售款以及相关违约金所致。
进一步统计发现,2024年上半年公司自由现金流为5.78亿元,相比上年同期下降29.24%。

2024年上半年,公司营业收入现金比为98.91%,净现比为36.72%。

营运能力方面,2024年上半年,公司公司总资产周转率为0.35次,上年同期为0.46次(2023年上半年行业平均值为0.45次,公司位居同行业6/13);固定资产周转率为1.40次,上年同期为1.80次(2023年上半年行业平均值为2.01次,公司位居同行业6/13);公司应收账款周转率、存货周转率分别为2.98次、1.89次。

2024年上半年,公司期间费用为1.05亿元,较上年同期减少1279.09万元;但期间费用率为3.75%,较上年同期上升0.34个百分点。其中,销售费用同比增长0.07%,管理费用同比下降3.94%,研发费用同比下降24.26%,财务费用由去年同期的-9545.55万元变为-7370.56万元。

资产重大变化方面,截至2024年上半年末,公司在建工程较上年末增加367.51%,占公司总资产比重上升3.68个百分点;货币资金较上年末增加12.60%,占公司总资产比重上升2.14个百分点;固定资产较上年末减少5.47%,占公司总资产比重下降2.05个百分点;交易性金融资产较上年末减少25.97%,占公司总资产比重下降2.02个百分点。

负债重大变化方面,截至2024年上半年末,公司应付账款较上年末增加19.42%,占公司总资产比重上升0.65个百分点;应付票据较上年末增加2.81%,占公司总资产比重上升0.05个百分点;应交税费较上年末减少34.80%,占公司总资产比重下降0.31个百分点;应付职工薪酬较上年末减少62.60%,占公司总资产比重下降0.24个百分点。

从存货变动来看,截至2024年上半年末,公司存货账面价值为13.2亿元,占净资产的24.78%,较上年末增加1.5亿元。其中,存货跌价准备为8479.17万元,计提比例为6.03%。

在偿债能力方面,公司2024年上半年末资产负债率为31.09%,相比上年末上升0.28个百分点;有息资产负债率为1.63%,相比上年末下降0.03个百分点。

2024年上半年,公司流动比率为2.21,速动比率为1.66。

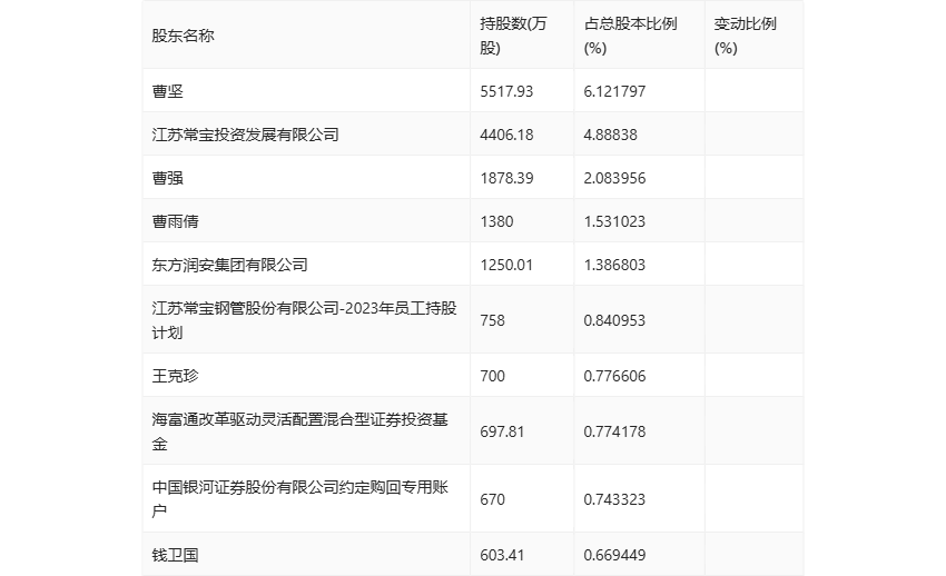
半年报显示,2024年上半年末公司十大流通股东中,新进股东为海富通改革驱动灵活配置混合型证券投资基金、钱卫国,取代了一季度末的上海嘉愈医疗投资管理有限公司、华安精致生活混合型证券投资基金。

筹码集中度方面,截至2024年上半年末,公司股东总户数为2.66万户,较一季度末下降了666户,降幅2.44%;户均持股市值由一季度末的20.88万元下降至16.87万元,降幅为19.20%。

指标注解:
市盈率
=总市值/净利润。当公司亏损时市盈率为负,此时用市盈率估值没有实际意义,往往用市净率或市销率做参考。
市净率
=总市值/净资产。市净率估值法多用于盈利波动较大而净资产相对稳定的公司。
市销率
=总市值/营业收入。市销率估值法通常用于亏损或微利的成长型公司。
文中市盈率和市销率采用TTM方式,即以截至最近一期财报(含预报)12个月的数据计算。市净率采用LF方式,即以最近一期财报数据计算。
市盈率为负时,不显示当期分位数,会导致折线图中断。