嘉麟杰:2024年第一季度亏损655.59万元

中证智能财讯 嘉麟杰(002486)4月27日披露2024年一季报。2024年第一季度,公司实现营业总收入2.35亿元,同比增长0.68%;归母净利润亏损655.59万元,上年同期盈利513.52万元;扣非净利润亏损779.07万元,上年同期盈利590.19万元;经营活动产生的现金流量净额为1632.18万元,同比下降56.82%;报告期内,嘉麟杰基本每股收益为-0.0079元,加权平均净资产收益率为-0.64%。


2024年第一季度,公司毛利率为19.56%,同比下降5.64个百分点;净利率为-2.62%,较上年同期下降5.02个百分点。

2024年第一季度,公司经营活动现金流净额为1632.18万元,同比下降56.82%,主要系销售回款减少,收到的税费返还减少所致;筹资活动现金流净额-127.41万元,同比减少83.57万元,主要系报需要偿还的借款减少所致;投资活动现金流净额-565.88万元,上年同期为-2207.95万元,主要系购建固定资产支出减少所致。

2024年第一季度,公司营业收入现金比为121.11%,净现比为-248.96%。

资产重大变化方面,截至2024年一季度末,公司货币资金较上年末增加5.32%,占公司总资产比重上升1.71个百分点;应收账款较上年末减少12.19%,占公司总资产比重下降1.32个百分点;固定资产较上年末增加1.89%,占公司总资产比重上升0.84个百分点;预付款项较上年末减少19.75%,占公司总资产比重下降0.72个百分点。

负债重大变化方面,截至2024年一季度末,公司应付职工薪酬较上年末减少67.28%,占公司总资产比重下降1.85个百分点;应付账款较上年末增加38.21%,占公司总资产比重上升1.97个百分点;租赁负债较上年末减少89.00%,占公司总资产比重下降0.35个百分点;应交税费较上年末减少38.23%,占公司总资产比重下降0.29个百分点。

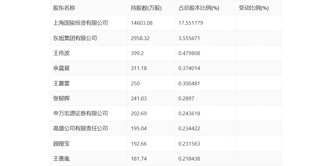
一季报显示,2024年一季度末公司十大流通股东中,新进股东为余晨星、申万宏源证券有限公司、高盛公司有限责任公司、顾娅宝、王善胤,取代了上年末的国金量化多因子股票型证券投资基金、UBS AG、国信证券股份有限公司、BARCLAYS BANK PLC、方杰。在具体持股比例上,张郁辉持股有所上升。

筹码集中度方面,截至2024年一季度末,公司股东总户数为5.64万户,较上年末增长了188户,增幅0.33%;户均持股市值由上年末的4.32万元下降至3.61万元,降幅为16.44%。
