龙虎榜丨大金重工今日涨停,深股通专用净买入7066.5万元

http://ddx.gubit.cn  2023-10-20 17:04  大金重工(002487)公司分析

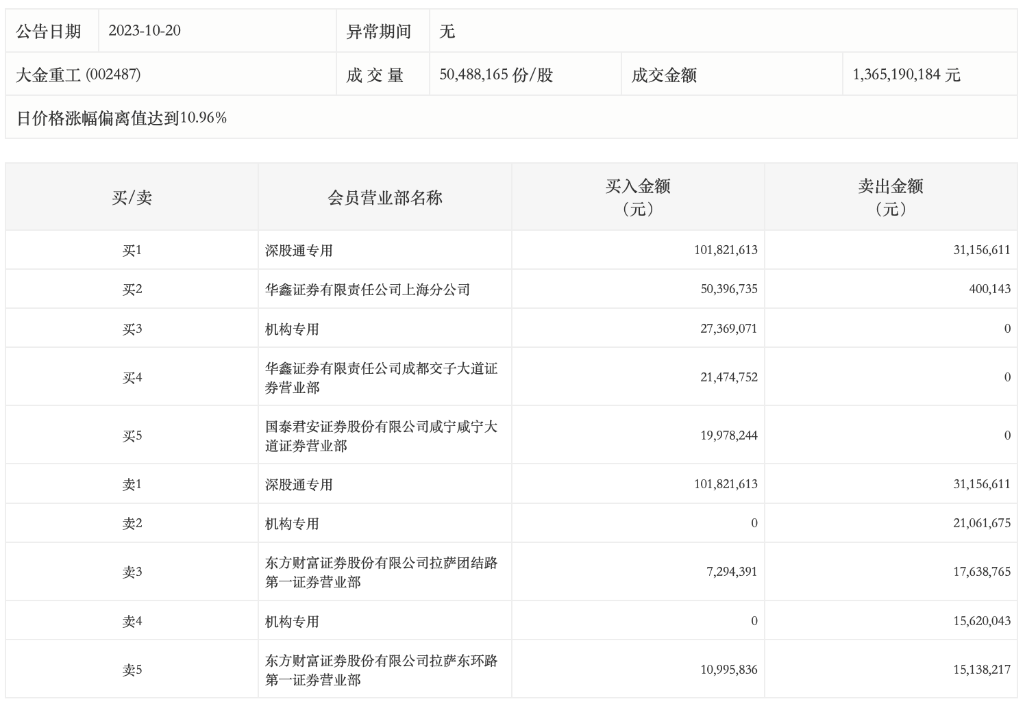
10月20日,大金重工今日涨停,全天换手率达8.01%,振幅达11.18%。龙虎榜数据显示,营业部席位合计净买入1.38亿元。其中,机构买入2736.91万元,卖出3668.17万元,合计净卖出931.26万元。此外,深股通专用、华鑫证券上海分公司分别买入1.02亿元、5039.67万元;深股通专用、东方财富证券拉萨团结路第一证券营业部分别卖出3115.66万元、1763.88万元。