龙虎榜丨金固股份今日涨停,机构合计净卖出1184.51万元

http://ddx.gubit.cn  2023-07-28 22:40  金固股份(002488)公司分析

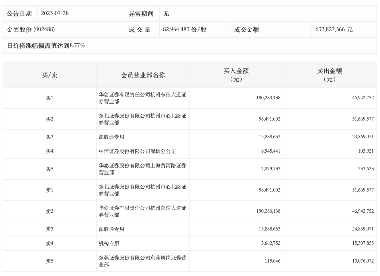
7月28日,金固股份今日涨停,龙虎榜数据显示,上榜营业部席位全天成交4.78亿元,占当日总成交金额比例为75.48%。其中,买入金额为3.25亿元,卖出金额为1.52亿元,合计净买入1.73亿元。

具体来看,机构买入366.28万元,卖出1550.79万元,合计净卖出1184.51万元。此外,华创证券杭州东信大道证券营业部、东北证券杭州市心北路证券营业部分别买入1.90亿元、9849.10万元;东北证券杭州市心北路证券营业部、华创证券杭州东信大道证券营业部分别卖出5166.96万元、4694.28万元。