金固股份:2024年第一季度盈利990.80万元 同比扭亏

中证智能财讯 金固股份(002488)4月29日披露2024年一季报。2024年第一季度,公司实现营业总收入8.17亿元,同比增长17.79%;归母净利润990.80万元,同比扭亏;扣非净利润607.94万元,同比扭亏;经营活动产生的现金流量净额为-1.12亿元,上年同期为-1.33亿元;报告期内,金固股份基本每股收益为0.01元,加权平均净资产收益率为0.24%。


2024年第一季度,公司毛利率为10.31%,同比上升1.94个百分点;净利率为1.19%,较上年同期上升3.50个百分点。

数据显示,2024年第一季度公司加权平均净资产收益率为0.24%,较上年同期增长0.64个百分点;公司2024年第一季度投入资本回报率为0.30%,较上年同期增长0.28个百分点。

2024年第一季度,公司经营活动现金流净额为-1.12亿元,同比增加2123.17万元;筹资活动现金流净额9352.30万元,同比减少6.52亿元,主要系报告期内公司短期借款偿还及流入资金减少所致;投资活动现金流净额-1.41亿元,上年同期为-1.54亿元。

2024年第一季度,公司营业收入现金比为135.51%,净现比为-1127.17%。

资产重大变化方面,截至2024年一季度末,公司货币资金较上年末减少21.20%,占公司总资产比重下降1.90个百分点;预付款项较上年末增加110.05%,占公司总资产比重上升1.85个百分点;在建工程较上年末增加15.27%,占公司总资产比重上升1.83个百分点;存货较上年末减少1.08%,占公司总资产比重下降0.69个百分点。

负债重大变化方面,截至2024年一季度末,公司短期借款较上年末增加12.92%,占公司总资产比重上升1.63个百分点;长期借款较上年末增加3.97%,占公司总资产比重上升0.22个百分点;应付账款较上年末减少15.97%,占公司总资产比重下降0.49个百分点;长期递延收益较上年末增加93.26%,占公司总资产比重上升0.35个百分点。

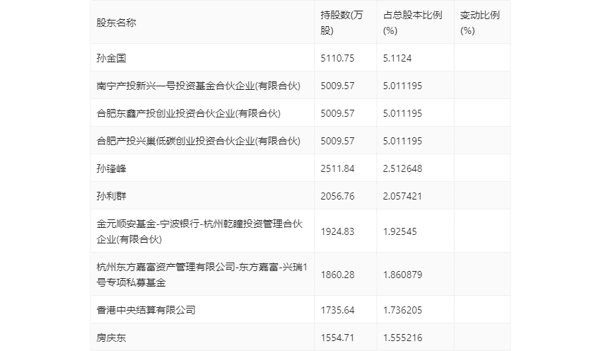
一季报显示,2024年一季度末公司十大流通股东中,新进股东为房庆东,取代了上年末的中信建投证券股份有限公司。在具体持股比例上,香港中央结算有限公司持股有所下降。

筹码集中度方面,截至2024年一季度末,公司股东总户数为3.91万户,较上年末增长了3588户,增幅10.11%;户均持股市值由上年末的20.23万元下降至13.36万元,降幅为33.96%。
